Композиционный радиопоглощающий материал на основе резистивных колец
- Авторы: Пономаренко В.И.1, Лагунов И.М.1
-
Учреждения:
- Крымский федеральный университет им. В.И. Вернадского
- Выпуск: Том 68, № 2 (2023)
- Страницы: 127-130
- Раздел: ЭЛЕКТРОДИНАМИКА И РАСПРОСТРАНЕНИЕ РАДИОВОЛН
- URL: https://bakhtiniada.ru/0033-8494/article/view/138109
- DOI: https://doi.org/10.31857/S0033849423010114
- EDN: https://elibrary.ru/EQPKWL
- ID: 138109
Цитировать
Полный текст
Аннотация
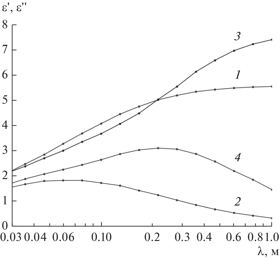
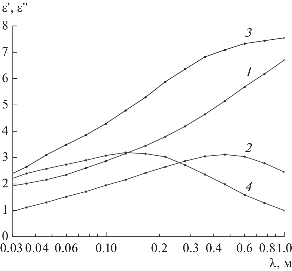
Получены частотные зависимости эффективной диэлектрической проницаемости структуры в виде решетки из кольцевых резистивных элементов, расположенных в слое диэлектрика. Расчеты проведены на основе решения задачи дифракции нормально падающей электромагнитной волны на структуру. Показана возможность варьирования дисперсионных зависимостей в широких пределах путем изменения параметров структуры.
Ключевые слова
Об авторах
В. И. Пономаренко
Крымский федеральный университет им. В.И. Вернадского
Email: vponom@gmail.com
Российская Федерация, 295007, Симферополь, просп. акад. Вернадского, 4
И. М. Лагунов
Крымский федеральный университет им. В.И. Вернадского
Автор, ответственный за переписку.
Email: vponom@gmail.com
Российская Федерация, 295007, Симферополь, просп. акад. Вернадского, 4
Список литературы
- Лагарьков А.Н., Кисель В.Н., Семененко В.Н. // РЭ. 2012. Т. 57. № 10. С. 1119.
- Балагуров Б.Я. Электрофизические свойства композитов: Макроскопическая теория. М.: Ленанд, 2015.
- Пономаренко В.И., Лагунов И.М. Поглотители электромагнитных волн. Радиофизическая теория. Методы расчета. Симферополь: Полипринт, 2021.
- Розанов К.Н. Частотно-зависимые магнитные и диэлектрические свойства композитных материалов для широкополосных СВЧ-применений. Дис. … докт. физ.-мат. наук. М.: ИТПЭ РАН, 2018. 326 с.
- Hatakeyama K., Inui T. // IEEE Trans. 1984. V. Mag-20. № 5. P. 1261.
- Лагунов И.М., Пономаренко В.И. // РЭ. 2020. Т. 65. № 3. С. 245.
- Безуглов Д.А., Звездина М.Ю., Лагунов И.М. и др. Композиционные материалы: разработка и применение. Новосибирск: Изд-во АНС “СибАК”, 2017. С. 112.
- Пономаренко В.И., Лагунов И.М. // ЖТФ. 2020. Т. 90. № 6. С. 1009.
- Пономаренко В.И., Лагунов И.М. // РЭ. 2020. Т. 65. № 12. С. 1170.
- Бессонов Л.А. Теоретические основы электротехники. Электромагнитное поле. М.: Высш. школа, 1978.
- Никольский В.В., Никольская Т.И. Электродинамика и распространение радиоволн. М.: Наука, 1989.
- Мелешко А.И., Половников С.П. Углерод, углеродные волокна, углеродные композиты. М.: САЙНС-ПРЕСС, 2007.
- Левин Л. Теория волноводов. Методы решения волноводных задач. М.: Радио и связь, 1981.
Дополнительные файлы







