On Some Regularities of Realization of Electrostatic Instability of Charged Surface of Liquid in Basin of Finite Dimensions
- Authors: Grigor’ev A.I.1, Shiryaeva S.O.2, Koromyslov V.A.3
-
Affiliations:
- Ishlinsky Institute for Problems in Mechanics RAS
- P.G. Demidov Yaroslavl State University
- Emperor Alexander the 1st Petersburg State Transport University, Yaroslavl branch
- Issue: Vol 87, No 3 (2023)
- Pages: 392-408
- Section: Articles
- URL: https://bakhtiniada.ru/0032-8235/article/view/138866
- DOI: https://doi.org/10.31857/S0032823523030037
- EDN: https://elibrary.ru/ZSLXLQ
- ID: 138866
Cite item
Full Text
Abstract
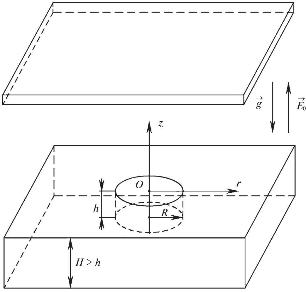
Physical regularities of realization of electrostatic instability of flat charged surface of non-compressible viscous conducting liquid are considered, in pool of finite dimensions, where spectrum of emerging capillary waves is discrete. It has been shown that the critical conditions for the onset of electrostatic instability of an uncompressible viscous conductive liquid, in a basin of finite dimensions, coincide with those for a limitless surface of an infinitely deep ideal uncompressible liquid (coincide with the conditions for realizing Tonks–Frenkel instability). This allows the experimental verification of the criterion for realizing Tonks–Frenkel instability to use basins of finite dimensions, avoiding fundamental errors.
About the authors
A. I. Grigor’ev
Ishlinsky Institute for Problems in Mechanics RAS
Author for correspondence.
Email: grigorai@mail.ru
Russia, Moscow
S. O. Shiryaeva
P.G. Demidov Yaroslavl State University
Author for correspondence.
Email: shir@uniyar.ac.ru
Russia, Yaroslavl
V. A. Koromyslov
Emperor Alexander the 1st Petersburg State Transport University, Yaroslavl branch
Author for correspondence.
Email: s_myslov@mail.ru
Russia, Yaroslavl
References
- Rayleigh (Strutt J.W.) On the equilibrium of liquid conducting masses charged with electricity // Phil. Mag. 1882. V. 14. P. 184–186.
- Hendrics C.D., Schneider J.M. Stability of conducting droplet under the influence of surface tension and electrostatic forces // J. Amer. Phys. 1963. V. 1. № 6. P. 450–453.
- Taylor G.I. Disintegration of water drops in an electric field // Proc. Ro.y Soc. London. 1964. V. A280. P. 383–397.
- Zeleny J. On the conditions of instability of electrified drops, with application to the electrical discharge from liquid points // Proc. Cambridge Phil. Soc. 1914. V. 18. Pt. 1. P. 71–83.
- Zeleny J. Instability of electrified liquid surfaces // The Phys. Rev. 1917. V. 10. № 1. P. 1–6.
- Doyle A., Moffet D.R., Vonnegut B. Behavior of evaporating electrically charged droplets // J. Coll. Sci. 1964. V. 19. P. 136–143.
- Hunter H.C., Ray Asit K. On progeny droplets emitted during Coulombic fission of charged microdrops // Phys. Chem. Chem. Phys. 2009. V. 11. № 29. P. 6156–6165.
- Inculet I.I., Floryan J.M., Haywood R.J. Dynamics of water droplets breakup in electric fields // IEEE Trans. on Industry Appl. 1992. V. 28. № 5. P. 1203–1209.
- Karyappa R.B., Deshmukh S.D., Thaokar R.M. Breakup of a conducting drop in a uniform electric field // J. Fluid Mech. 2014. V. 754. P. 550–589.
- Григорьев А.И. Электростатическая неустойчивость сильно заряженной струи электропроводной жидкости // ЖТФ. 2009. Т. 79. № 4. С. 36–45.
- Cloupeau M., Prunet Foch B. Electrohydrodynamic spraying functioning modes: a critical review // J. Aerosol Sci. 1994. V. 25. № 6. P. 1021–1035.
- Jaworek A., Krupa A. Classification of the modes of EHD spraying // J Aerosol Sci. 1999. V. 30. № 7. P. 873–893.
- Tonks L. A Theory of liquid surface rupture by uniform electric field // Phys. Rev. 1935. № 48. P. 562–568.
- Френкель Я.И. К теории Тонкса о разрыве поверхности жидкости постоянным электрическим полем в вакууме // ЖЭТФ. 1936. Т. 6. № 4. С. 348–350.
- Taylor G.I., McEwan A.D. The stability of horizontal fluid interface in a vertical electric field // J. Fluid Mech. 1965. V. 22. № 1. P. 1–15.
- Габович М.Д., Порицкий В.Я. Исследование нелинейных волн на поверхности жидкого металла, находящегося в электрическом поле // Письма в ЖЭТФ. 1981. Т. 33. № 6. С. 320–324.
- Ландау Л.Д., Лифшиц Е.М. Гидродинамика. М.: Наука, 1982. 620 с.
- Ландау Л.Д., Лифшиц Е.М. Электродинамика сплошных сред. М.: Наука, 1982. 620 с.
- Лазарянц А.Э., Ширяева С.О., Григорьев А.И. Скаляризация векторных краевых задач. М.: Русайнс, 2020. 142 с.
- Найфе А.Х. Методы возмущений. М.: Мир, 1976. 455 с.




