Planar Magnetron with Rotary Central Anode Sputtered by an Ion Beam
- Authors: Semenov A.P.1, Tsyrenov D.B.1, Semenova I.A.1
-
Affiliations:
- Institute of Physical Materials Science, Siberian Branch, Russian Academy of Sciences
- Issue: No 1 (2023)
- Pages: 145-148
- Section: ЛАБОРАТОРНАЯ ТЕХНИКА
- URL: https://bakhtiniada.ru/0032-8162/article/view/138294
- DOI: https://doi.org/10.31857/S0032816223010214
- EDN: https://elibrary.ru/JWXSNV
- ID: 138294
Cite item
Full Text
Abstract
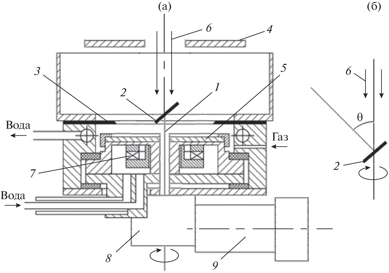
A planar magnetron with a rotating central anode has been developed. The central flat anode, which functions as a target sputtered by an ion beam, is installed with the possibility of rotation and at an angle of 45°–50° relative to the direction of incidence of the sputtering ion beam, and the anode rotation axis coincides with the symmetry axis of the ion beam. Calculation of the sputtering coefficient of the central copper anode of the magnetron shows that, under oblique incidence of sputtering ions and all other conditions being equal, the sputtering coefficient of the copper anode of the magnetron increases from six to nine atoms per incident ion, while the maximum accuracy of sputtered copper atoms on the growth surface of the substrates is achieved. The planar magnetron of the proposed design has wider functionality, in particular, in the synthesis of nanostructured TiN–Cu composite coatings. The homogeneous globular structure of the growth surface of the TiN–Cu coating with globule sizes in the range of 50–100 nm indicates a normal (unfaceted) growth mechanism. The microhardness of the coatings is approximately 42 GPa.
About the authors
A. P. Semenov
Institute of Physical Materials Science, Siberian Branch, Russian Academy of Sciences
Email: alexandersemenov2018@mail.ru
670047, Ulan-Ude, Russia
D. B.-D. Tsyrenov
Institute of Physical Materials Science, Siberian Branch, Russian Academy of Sciences
Email: alexandersemenov2018@mail.ru
670047, Ulan-Ude, Russia
I. A. Semenova
Institute of Physical Materials Science, Siberian Branch, Russian Academy of Sciences
Author for correspondence.
Email: alexandersemenov2018@mail.ru
670047, Ulan-Ude, Russia
References
- Семенов А.П., Семенова И.А., Цыренов Д.Б.-Д., Николаев Э.О. // ПТЭ. 2020. № 5. С. 143. https://doi.org/10.31857/S0032816220050213
- Плешивцев Н.В., Семашко Н.Н. // Итоги науки и техники. Сер. Физические основы лазерной и пучковой технологии. М.: ВИНИТИ, 1989. Т. 5. С. 55–112.
- Фундаментальные и прикладные аспекты распыления твердых тел / Под ред. Е.С. Машковой. М.: Мир, 1989.
- Распыление твердых тел ионной бомбардировкой / Под ред. Р. Бериша. М.: Мир, 1984.
- Плетнев В.В. // Итоги науки и техники. Сер. Пучки заряженных частиц и твердое тело. М.: ВИНИТИ, 1991. Т. 5. С. 4–62.
- Sigmund P. // Phys. Rev. 1969. V. 184. № 2. P. 383.
- Габович М.Д., Плешивцев Н.В., Семашко Н.Н. Пучки ионов и атомов для управляемого термоядерного синтеза и технологических целей. М.: Энергоатомиздат, 1986.
- Семенов А.П., Батуев Б.-Ш.Ч. // ПТЭ. 1991. № 5. С. 192.
- Семенов А.П., Семенова И.А., Цыренов Д.Б.-Д., Николаев Э.О. // Известия высших учебных заведений. Физика. 2020. Т. 63. № 10. С. 102. https://doi.org/10.17223/00213411/63/10/102
- Yamamura Y., Shimizu R., Shimizu H., Itoh N. // Ион оё токусю (Japan). 1983. V. 26. № 2. P. 69.
- Семенов А.П., Семенова И.А., Цыренов Д.Б.-Д., Николаев Э.О. // ПТЭ. 2021. № 4. С. 44. https://doi.org/10.31857/S0032816221040261
- Семенов А.П., Цыренов Д.Б.-Д., Семенова И.А. // ПТЭ. 2017. № 6. С. 119. https://doi.org/10.7868/S0032816217060106
- Семенов А.П., Белянин А.Ф., Мохосоев М.В., Тер-Маркарян А.А. // Техника средств связи. 1984. Сер. Технология производства и оборудование. Вып. 1. С. 66.
Supplementary files







