Исследование закономерностей газофазного некаталитического окисления смесей н-бутана с этиленом
- Авторы: Погосян М.Д.1, Погосян Н.М.1, Арсентьев С.Д.1
-
Учреждения:
- Институт химической физики им. А.Б. Налбандяна Национальной академии наук Республики Армения
- Выпуск: Том 64, № 3 (2024)
- Страницы: 226-231
- Раздел: Статьи
- URL: https://bakhtiniada.ru/0028-2421/article/view/275190
- DOI: https://doi.org/10.31857/S0028242124030049
- EDN: https://elibrary.ru/LHCDDB
- ID: 275190
Цитировать
Полный текст
Аннотация
Исследовано термическое газофазное окисление смесей этилена с н-бутаном. Установлено, что при относительно низкой температуре 280оC, когда этилен сам по себе не окисляется, введение в исходную смесь добавок н-бутана активно вовлекает этилен в процесс окисления. С увеличением концентрации н-бутана в исходной смеси возрастают максимальные концентрации основных продуктов реакции: формальдегида, ацетальдегида, метанола, оксида этилена, оксида углерода, диоксида углерода, метана и водорода. С другой стороны, увеличение концентрации этилена в исходной смеси приводит к замедлению окисления н-бутана. При этом максимальные концентрации альдегидов, оксида углерода и особенно оксида этилена увеличиваются, а метанола, диоксида углерода, метана и водорода уменьшаются.
Ключевые слова
Полный текст
Окислительная конверсия легких углеводородов, являющихся основными компонентами природного и сопутствующих газов, стала основой одного из важнейших направлений современной нефтехимии и полноценной новой отрасли промышленности – газохимии. Окислительная конверсия простейших углеводородов позволяет получать самые разнообразные промышленно важные продукты, такие как водород, синтез-газ, олефины, оксигенаты (спирты, альдегиды, оксиды олефинов и их производные).
Наиболее исследованы процессы окислительной конверсии метана, рассматриваемые в [1–4]. В то же время работ, посвященных более тяжелым углеводородам очень мало. Можно отметить следующие: [5–7]. В частности, в [5] представлены результаты экспериментального и кинетического исследования процесса окисления пропана; в [6] методом синхротронной вакуумной УФ-фотоионизационной масс-спектрометрии обнаружены активные гидропероксиды и высокооксигенированные молекулы и предложена подробная кинетическая модель окисления циклогексана. Исследование [7] посвящено сравнению процессов окисления толуола и изомеров ксилола, а также их реакционной способности в зависимости от строения молекулы.
Следует отметить, что в последние годы весьма интенсивно исследуются процессы окислительной конверсии смесей углеводородов [8–12], а также углеводородов с промотирующими добавками [13–14]. Подобные исследования способствуют поиску наиболее оптимальных смесей при разработке методов управления процессами и получения таких важных продуктов, как метанол, формальдегид, оксид этилена и др.
Ранее уже проводились исследования, посвященные окислению смесей этилена с этаном [15], пропаном [16, 17], пропиленом [18]. Изучение окисления этилен-этановых смесей [15] подтвердило, что развитие цепных реакций при их раздельном окислении происходит с участием одних и тех же алкилпероксидных радикалов. Исследования процессов окисления этилен-пропановых смесей [16, 17] позволили повысить эффективность получения промышленно важного продукта – пропилена из пропана; при этом этилен формально являлся псевдокатализатором и в процессе не расходовался. Совместное окисление этилена с пропиленом [18] позволило впервые экспериментально измерить константы эпоксидирования олефинов пероксидными радикалами.
Работ по сопряженному окислению бутана с этиленом в условиях, когда один из реагентов сам по себе не окисляется, до сих пор не было. Для исследования были выбраны такие условия, при которых этилен не способен окисляться, а бутан окисляется достаточно активно, т.е. имеет место классический пример сопряжения, что и являлось предметом исследования.
Цель настоящей работы – исследование сопряженного окисления этилена и н-бутана в условиях, когда этилен сам по себе не окисляется.
ЭКСПЕРИМЕНТАЛЬНАЯ ЧАСТЬ
Эксперименты проводили в статических условиях в цилиндрическом кварцевом реакторе (d = 6 см, l = 22 см, V = 640 см3). Предварительно реактор в течение 20 мин обрабатывали концентрированной азотной кислотой, затем промывали дистиллированной водой, продували азотом при 80–100оC, устанавливали в печь и откачивали вакуумным насосом. В дальнейшем в ходе всех экспериментов исключали попадание воздуха в реактор. Электрический обогрев печи позволял поддерживать температуру с точностью ±0.2оC. Для измерения температуры в реакторе через специальный штуцер вводили хромель-алюмелевую термопару, помещенную в тонкий кварцевый чехол; спай термопары размещали у стенки реактора на середине его длины. Максимальные значения измерения разогревов, в зависимости от состава исходной смеси, составляли 3–7оC.
Исследовали окисление смесей н-бутана с этиленом состава C2H4 : O2 : (N2 + n-C4H10) = 1 : 3 : 1 при суммарном исходном давлении 250 торр и температуре 280°C. Концентрации этилена и кислорода во всех опытах составляли 50 и 150 торр соответственно. При изменении концентрации н-бутана в исходной смеси общее давление поддерживали постоянным за счет добавления в исходную смесь азота.
Реакционные смеси заранее напускали в нужном соотношении в вакуумированные стеклянные баллоны и оставляли для перемешивания не менее чем на три дня. Общий объем баллонов составлял приблизительно 60 л. Предварительно перемешанную смесь быстрым поворотом трехходового крана впускали в вакуумированный статический реактор. По истечении заранее заданного времени смесь поворотом трехходового крана выпускали в вакуумированную ловушку, из которой производили отбор пробы для анализа продуктов реакции.
Анализ продуктов реакции осуществляли методом газовой хроматографии. Разделение Н2, О2, N2, CH4 и CO проводили на приборе Agilent G3581 490 Micro GC с колонкой, заполненной молекулярными ситами (l = 10 м, T = 50°C, P = 150 кПа). На хроматографе ЛХМ-8МД на колонке, заполненной полимерным сорбентом Porapak N (l = 3 м, T = 118°C, q = 60 см3/мин) в газовой фазе анализировали диоксид углерода, метанол, этанол, формальдегид, ацетальдегид, пропионовый альдегид, оксид этилена, ацетон, муравьиную и уксусную кислоты. Углеводороды С1–С4 разделяли на колонке, заполненной силипор-600 (l = 3 м, d = 3 мм, Ткол = 90°C, q = 24 см3/мин, газ-носитель: гелий). Пробы отбирали стеклянным шприцем, нагретым до 80°C (во избежание конденсации продуктов). Отнесение пиков к определенному веществу проводили по методу внутреннего стандарта.
РЕЗУЛЬТАТЫ И ИХ ОБСУЖДЕНИЕ
При окислении бутан-этиленовых смесей было установлено, что основными продуктами процесса являются формальдегид, ацетальдегид, метанол, оксид этилена, оксид углерода, диоксид углерода, метан, водород. В незначительных количествах обнаруживаются также ацетон, муравьиная и уксусная кислоты, пропионовый альдегид, этан, пропан.
Холостые опыты показали, что при отсутствии в исходной смеси н-бутана время достижения заметной конверсии исходных этилена и кислорода превышает 4 ч. При введении н-бутана и повышении его концентрации в исходной смеси процесс окисления этилена существенно ускоряется и при полной замене азота на н-бутан завершается за 10 мин; при этом концентрации исходных реагентов практически уже не изменяются.
В случае отсутствия в исходной смеси этилена (N2 : O2 : C4H10 = 1 : 3 : 1) н-бутан активно окисляется. На рис. 1 представлены типичные кинетические кривые расхода н-бутана и этилена.
Рис. 1. Кинетические кривые расхода этилена (1) и н-бутана (2) в смеси C2H4 : O2 : н-C4H10 = 1 : 3 : 1 при P = 250 торр и T = 280°C
Расходы исходных реагентов, измеренные на десятой минуте опыта, когда концентрации исходных реагентов практически уже не изменялись, показаны на рис. 2.
Рис. 2. Зависимость расхода этилена (1), н-бутана (2) и кислорода (3) от концентрации н-бутана в исходной смеси состава C2H4 : O2 : (N2+н-C4H10) = 1 : 3 : 1 при P = 250 торр и T = 280°C. Расходы измерены на десятой минуте опыта
Эксперименты показали, что с ростом концентрации н-бутана наиболее сильно изменяется расход кислорода – от 1.51 × 10–6 до 4.16 × 10–6 моль/см3. Расход этилена растет от 0.59 × 10–6 до 0.81 × 10–6, а затем уменьшается до 0.74 × 10–6 моль/см3. Расход н-бутана непрерывно растет от 0.22 × 10–6 до 1.44 × 10–6 моль/см3. Из рис. 2 видно также, что расход н-бутана имеет линейную зависимость от его концентрации в исходной смеси.
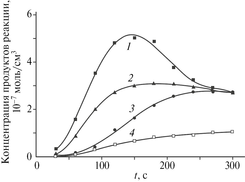
Кинетические кривые накопления основных кислородсодержащих продуктов реакции приведены на рис. 3.
Рис. 3. Кинетические кривые накопления формальдегида (1), ацетальдегида (2), метанола (3) и оксида этилена (4) при P = 250 торр и T = 280°C в смеси C2H4 : O2 : н-C4H10 = 1 : 3 : 1
Как видно из рис. 3, концентрации формальдегида и ацетальдегида достигают своего максимума практически одновременно, а затем снижаются. Концентрации метанола и оксида этилена увеличиваются до самого завершения процесса. Причем максимальные скорости накопления метанола и оксида этилена примерно соответствуют достижению максимальной концентрации альдегидов.
На основании полученных данных в табл. 1 приводятся зависимости максимальных концентраций основных продуктов реакции от концентрации н-бутана в исходной смеси.
Таблица 1. Зависимость максимальных концентраций продуктов реакции от концентрации н-бутана в исходной смеси. P = 250 торр и T =280°C, [n × 10–7 моль/см3]
[н-C4H10]0 | [CH2O] | [CH3CHO] | [CH3OH] | [C2H4O] | [CO] | [CO2] | [CH4] | [H2] |
2.90 | 3.31 | 0.41 | 0.19 | 0.25 | 7.4 | 2.37 | 1.07 | 0.01 |
5.80 | 3.92 | 1.12 | 0.97 | 0.30 | 15.1 | 3.96 | 2.54 | 0.04 |
8.69 | 4.29 | 1.81 | 1.53 | 0.35 | 23.2 | 5.63 | 4.62 | 0.08 |
11.59 | 4.63 | 2.53 | 2.37 | 0.36 | 25.6 | 7.84 | 6.08 | 0.12 |
14.49 | 5.01 | 3.11 | 2.74 | 0.38 | 27.2 | 8.97 | 8.95 | 0.14 |
Полученные результаты показывают, что увеличение концентрации н-бутана в исходной смеси не только ускоряет процесс окисления, но и приводит к росту максимальных концентраций всех кислородсодержащих продуктов.
Как показали эксперименты, изменение концентрации этилена в исходной смеси, как и изменение концентрации н-бутана, также приводит к изменению скорости процесса окисления. На рис. 4 приводятся кинетические кривые расхода н-бутана в смесях состава (N2 + C2H4) : O2 : н-C4H10 = 1 : 3 : 1 с разной исходной концентрацией этилена. При этом суммарная концентрация азота с этиленом (N2 + C2H4) остается постоянной.
Рис. 4. Кинетические кривые расхода н-бутана в смесях (N2 + C2H4) : O2 : н-C4H10 = 1 : 3 : 1 с разными исходными концентрациями этилена: 1 – 0, 2 – 7.24 × 10–7, 3 – 14.5 × 10–7 моль/см3 при P = 250 торр и T = 280°C
Приведенные на рис. 4 данные показывают, что увеличение концентрации этилена в исходной смеси приводит к заметному замедлению процесса. Так, в отсутствие этилена максимальная скорость расхода н-бутана составляет 1.51 × 10–8 моль/см3∙с, при концентрации этилена в исходной смеси 7.24 × 10–7 моль/см3 эта скорость снижается до 1.03 × 10–8 моль/см3∙с, а при исходной концентрации этилена 14.5 × 10–7 моль/см3 составляет 0.83 × 10–8 моль/см3∙с, т.е. максимальная скорость расхода н-бутана уменьшилась в 1.81 раза. При этом максимальные концентрации альдегидов, оксида углерода и особенно оксида этилена увеличиваются, а метанола, диоксида углерода, метана и водорода уменьшаются (см. табл. 2).
Таблица 2. Зависимость максимальных концентраций продуктов реакции от исходной концентрации этилена при окислении смесей н-бутан–этилен состава (N2 + C2H4) : O2 : н-C4H10 = 1 : 3 : 1. P = 250 торр и T = 280°C
[C2H4]0 [n × 10–7 моль/см3] | Максимальные концентрации продуктов реакции [n × 10–7 моль/см3] | |||||||
CH2O | CH3CHO | CH3OH | C2H4O | CO | CO2 | CH4 | H2 | |
0 | 2.64 | 2.62 | 3.89 | 0.02 | 19.14 | 9.97 | 10.98 | 0.39 |
7.24 | 3.51 | 2.71 | 3.43 | 0.19 | 22.52 | 9.12 | 10.36 | 0.24 |
14.50 | 5.01 | 3.11 | 2.74 | 0.37 | 27.2 | 8.97 | 8.95 | 0.14 |
Наиболее сильно увеличение концентрации этилена в исходной смеси сказывается на оксиде этилена (увеличение максимальной концентрации в 18.5 раза) и водороде (уменьшение максимальной концентрации в 2.8 раза). Очевидно, что резкий рост концентрации оксида этилена можно объяснить наличием реакции между алкилпероксидными радикалами и этиленом [19]:
, (1)
где R – алкильный радикал (CH3, C2H5, C3H7, C4H9). Поскольку оксид этилена – вторичный продукт, для образования которого необходимо накопление в системе этилена, то его концентрация при [C2H4]0 = 0 крайне мала, а максимальная концентрация линейно зависит от исходной концентрации этилена.
В случае присутствия в смеси этилена важную роль играет быстрая реакция присоединения к нему атомов водорода:
, (2)
что приводит к уводу из системы атомарного водорода и, соответственно, к уменьшению скорости накопления молекулярного водорода. В результате максимальная концентрация водорода уменьшается, что и видно из табл. 2.
По всей вероятности, замедление процесса при введении в исходную смесь этилена связано с высокой активностью его π-связи, которая способна вступать в реакции присоединения, связывая активные атомы и радикалы в более пассивные интермедиаты. Подробный механизм окисления этилена приводится в работах [20, 21].
ЗАКЛЮЧЕНИЕ
Исследовано термическое газофазное окисление смесей этилена с н-бутаном. Методами газовой хроматографии обнаружены основные продукты реакции: метанол, этанол, формальдегид, ацетальдегид, пропионовый альдегид, оксид этилена, ацетон, муравьиная и уксусная кислоты, метан, этан, пропан, оксид и диоксид углерода, водород. Установлено, что при относительно низкой температуре 280°C, когда этилен сам по себе не окисляется, введение в исходную смесь добавок н-бутана активно вовлекает этилен в процесс окисления. С увеличением концентрации н-бутана в исходной смеси возрастают максимальные концентрации основных продуктов реакции. С другой стороны, увеличение концентрации этилена в исходной смеси приводит к замедлению окисления н-бутана. При этом максимальные концентрации альдегидов, оксида углерода и особенно оксида этилена увеличиваются, а метанола, диоксида углерода, метана и водорода – уменьшаются.
КОНФЛИКТ ИНТЕРЕСОВ
Авторы заявляют об отсутствии конфликта интересов, требующего раскрытия в данной статье.
Об авторах
Михаил Джангирович Погосян
Институт химической физики им. А.Б. Налбандяна Национальной академии наук Республики Армения
Автор, ответственный за переписку.
Email: arsentiev53@mail.ru
ORCID iD: 0000-0002-4750-8165
к.х.н.
Армения, ЕреванНарек Михайлович Погосян
Институт химической физики им. А.Б. Налбандяна Национальной академии наук Республики Армения
Email: arsentiev53@mail.ru
ORCID iD: 0000-0003-0913-2037
к.х.н.
Армения, ЕреванСергей Дмитриевич Арсентьев
Институт химической физики им. А.Б. Налбандяна Национальной академии наук Республики Армения
Email: arsentiev53@mail.ru
ORCID iD: 0000-0002-9146-3304
д.х.н.
Армения, ЕреванСписок литературы
- Arutyunov V.S. Direct Methane to methanol: foundations and prospects of the process. Elsevier, Amsterdam, 2014. Pp. vii–ix. ISBN 9780444632531. https://doi.org/10.1016/B978-0-444-63253-1.02001-8
- Arutyunov V.S., Magomedov R.N., Proshina A.Yu., Strekova L.N. Oxidative conversion of light alkanes diluted by nitrogen, helium or methane // Chem. Engineering J. 2014. V. 238. P. 9–16. https://doi.org/ 10.1016/j.cej.2013.10.009
- Lopez-Camara C.F., Saggese C., Pitz W.J., Shao X., Im H.G., Dunn-Rankin D. Reduced chemical kinetic model for CH4-air non-premixed flames including excited and charged species // Combustion and Flame. 2023. V. 253. ID 112822. https://doi.org/10.1016/j.combustflame.2023.112822
- Makaryan I., Salgansky E.A., Arutyunov V.S., Sedov I. Non-Catalytic partial oxidation of hydrocarbon gases to syngas and hydrogen: a systematic review // Energies. 2023. V. 16. № 6. ID 2916. https://doi.org/10.3390/en16062916
- Zhu L., Panigrahy S., Elliott S.N., Klippenstein S.J., Baigmohammadi M., Mohamed A.A.M., Hargis J.W., Alturaifi S., Mathieu O., Petersen E.L., Heufer A., Ramalingam A., Wang Z., Curran H.J. A wide range experimental study and further development of a kinetic model describing propane oxidation // Combustion and Flame. 2023. V. 248. ID 112562. https://doi.org /10.1016/j.combustflame.2022.112562
- Zou J., Jin H., Liu D., Zhang X., Su H., Yang J., Farooq A., Li Y. A comprehensive study on low-temperature oxidation chemistry of cyclohexane. II. Experimental and kinetic modeling investigation // Combustion and Flame. 2022. V. 235. ID 111550. https://doi.org/10.1016/j.combustflame.2021.111550
- Meziane I., Delort N., Herbinet O., Bounaceur R., Battin-Leclerc F. A comparative study of the oxidation of toluene and the three isomers of xylene // Combustion and Flame. 2023. V. 257. Part 2. P. 113046–113065. https://doi.org/10.1016/j.combustflame.2023.113046
- Martinez S., Baigmohammadi M., Patel V., Panigrahy S., Sahu A.B., Nagaraja S.S., Ramalingam A., Mohamed A.A. El-S., Somers K.P., Heufer K.A. Pekalski A., Curran H.J. An experimental and kinetic modeling study of the ignition delay characteristics of binary blends of ethane/propane and ethylene/propane in multiple shock tubes and rapid compression machines over a wide range of temperature, pressure, equivalence ratio, and dilution // Combustion and Flame. 2021. V. 228. № 3. P. 401–414. https://doi.org/10.1016/j.combustflame.2021.02.009
- Suzuki S., Pitz W.J. Fuel-rich oxidation of gasoline surrogate components in an atmospheric flow reactor // Combustion and Flame. 2023. V. 249. ID 112623. https://doi.org/10.1016/j.combustflame.2023.112623
- Герасимов Г.Я., Левашов В.Ю. Кинетические модели горения бензина // Химическая физика. 2023. T. 42. № 8. C. 12–26. ID 139924. https://doi.org/10.31857/S0207401X23080046
- Arsentev S.D., Davtyan A.H., Manukyan Z.H., Tavadyan L.A., Strekova L.N., Arutyunov V.S. Kinetic modeling of the effect of the conditions of conjugate oxidation of propane and ethylene on the yield of propylene // Russ. J. Phys. Chemistry B. 2024. V. 18. № 1. P. 125–131. https://doi.org/10.1134/S1990793124010020
- Zhang Z., Zhou L., Wang B., Chen X., Zhu Q., Pang W. Исследование термического крекинга и взаимодействия двухкомпонентной смеси н-декана и циклогексана // Нефтехимия. 2022. Т. 62. № 2. С. 248–263. https://doi.org/10.31857/S0028242122020071 [Zhang Z., Zhou L., Wang B., Chen X., Zhu Q., Pang W. Investigation on the thermal cracking and interaction of binary mixture of n-decane and cyclohexane // Petrol. Chemistry. 2022. V. 62. P. 411–424. https://doi.org/10.1134/S0965544122020013]
- Yin G., Xiao B., You J., Zhan H., Hu E., Huang Z. Experimental and kinetic modeling study on propane enhancing the laminar flame speeds of ammonia // Fuel Processing Technology. 2023. V. 247. P. 107779. https://doi.org/10.1016/j.fuproc.2023.107779
- Han X., Feng H., Lin R., Konnov A.A. A new correlation between diluent fraction and laminar burning velocities: example of CH4, NH3, and CH4 + NH3 flames diluted by N2 // Fuel. 2024. V. 364. P. 131108. https://doi.org/10.1016/j.fuel.2024.131108
- Аракелян Э.А., Арсентьев С.Д., Манташян А.А. Особенности окисления этан-этиленовых смесей // Нефтехимия. 1987. Т. 27. № 6. С. 776–779. [Arakelyan E.A., Arsentev S.D., Mantashyan A.A. Features of the oxidation of ethane-ethylene mixtures // Petrol. Chemistry. 1987. V. 27. № 6. P. 776–779]
- Погосян Н.М., Погосян М.Дж., Арсентьев С.Д., Стрекова Л.Н., Тавадян Л.А., Арутюнов В.С. Окислительный пиролиз пропана с добавками этилена // Нефтехимия. 2016. Т. 56. № 6. С. 612–616. https://doi.org/10.7868/S0028242116060174
- Погосян Н.М., Погосян М.Дж., Арсентьев С.Д., Тавадян Л.А., Стрекова Л.Н., Арутюнов В.С. Образование пропилена при сопряженном пиролизе пропана и этилена // Нефтехимия. 2020. Т. 60. № 3. С. 347–352. https://doi.org/10.31857/S002824212003017X [Pogosyan N.M., Pogosyan M.Dj., Arsentiev S.D., Tavadyan L.A., Strekova L.N., Arutyunov V.S. Propylene synthesis by copyrolysis of propane and ethylene // Petrol. Chemistry/ 2020/ V. 60. № 3. P. 316–320. https://doi.org/10.1134/S0965544120030172].
- Григорян Р.Р., Арсентьев С.Д., Манташян А.А. Термическое окисление этилен-пропиленовых смесей. Реакция эпоксидирования // Химическая физика. 1985. Т. 4. № 1. С. 75–78.
- Arsentiev S.D., Mantashyan A.A. Main reaction of peroxy radicals in the gas-phase oxidation of ethylene // Reaction Kinetics and Catalysis Letters. 1980. V. 13. № 2. P. 125–130. https://doi.org/10.1007/bf02074183
- Манташян А.А., Арсентьев С.Д. Исследование механизма термического газофазного окисления этилена. Часть 1 // Кинетика и катализ. 1981. Т. 22. № 4. С. 898–902.
- Манташян А.А., Арсентьев С.Д. Исследование механизма термического газофазного окисления этилена. Часть 2 // Кинетика и катализ. 1981. Т. 22. № 6. С. 1389–1393.
Дополнительные файлы






