Термоиндуцированные импульсные процессы в монокристаллах ниобата бария-стронция
- Авторы: Большакова Н.Н.1, Бурцев А.В.2, Педько Б.Б.1, Семенова Е.М.1
-
Учреждения:
- Тверской государственный университет
- ООО “Альтоника”
- Выпуск: Том 68, № 5 (2023)
- Страницы: 761-766
- Раздел: ФИЗИЧЕСКИЕ СВОЙСТВА КРИСТАЛЛОВ
- URL: https://bakhtiniada.ru/0023-4761/article/view/137418
- DOI: https://doi.org/10.31857/S0023476123600581
- EDN: https://elibrary.ru/DPTYWD
- ID: 137418
Цитировать
Полный текст
Аннотация
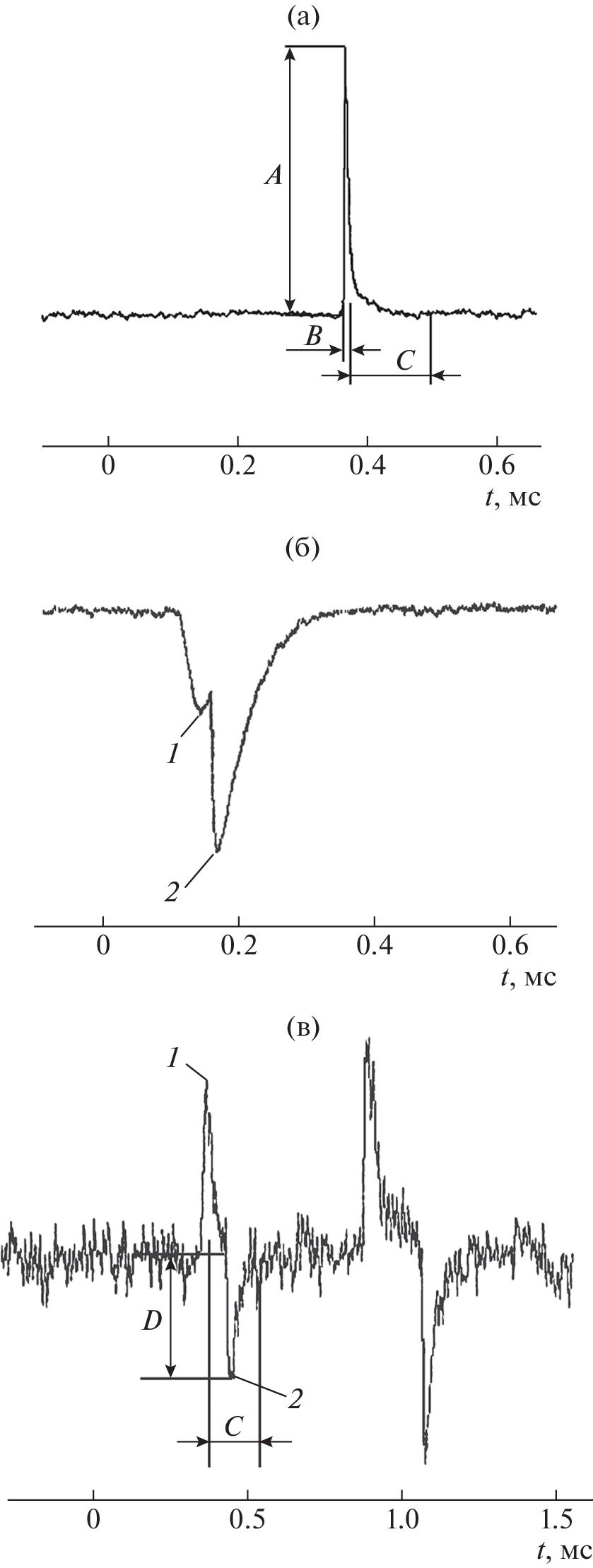
Приведены краткий аналитический обзор литературных данных по скачкообразным процессам переключения классических сегнетоэлектриков и новые экспериментальные результаты исследования термоиндуцированных импульсных процессов в кристаллах группы сегнетоэлектрика-релаксора ниобата бария-стронция. На основании данных спектрального анализа параметров импульсных процессов рассмотрены механизмы их возникновения в различных интервалах температур.
Об авторах
Н. Н. Большакова
Тверской государственный университет
Email: semenova.em@tversu.ru
Россия, Тверь
А. В. Бурцев
ООО “Альтоника”
Email: semenova.em@tversu.ru
Россия, Москва
Б. Б. Педько
Тверской государственный университет
Email: semenova.em@tversu.ru
Россия, Тверь
Е. М. Семенова
Тверской государственный университет
Автор, ответственный за переписку.
Email: semenova.em@tversu.ru
Россия, Тверь
Список литературы
- Рудяк В.М., Богомолов А.А., Шувалов Л.А. // Тезисы IV Всесоюзной конференции по физике сегнетоэлектриков. 1968. Рига. С. 96.
- Рудяк В.М. Процессы переключения в нелинейных кристаллах. М.: Наука, 1986. 248 с.
- Рудяк В.М. // УФН. 1970. Т. 101. № 3. С. 429.
- Рудяк В.М., Камаев В.Е. // Изв. АН СССР. 1965. Т. 29. С. 937.
- Рудяк В.М., Шувалов Л.А., Камаев В.Е. // Изв. АН СССР. Сер. физ. 1965. Т. 29. № 6. С. 943.
- Кузьминов Ю.С. Сегнетоэлектрические кристаллы для управления лазерным излучением. М.: Наука, 1982. 400 с.
- Волк Т.Р., Симагина Л.В., Гайнутдинов Р.В. и др. // ФТТ. 2011. Т. 53. Вып. 12. С. 2345.
- Lehnen P., Kleemann W., Woike T., Pankrath R. // Phys. Rev. B. 2001. V. 64. № 22. P. 224109. https://doi.org/10.1103/PhysRevB.64.224109
- Гайнутдинов Р.В., Волк Т.Р., Толстихина А.Л., Ивлева Л.И. // Письма в ЖЭТФ. 2007. Т. 86. Вып. 4. С. 299.
- Шур В.Я., Шихова В.А., Пелегов Д.В. и др. // ФТТ. 2011. Т 53. Вып. 11. С. 2195.
- Бурцев А.В., Педько Б.Б., Зазнобин Т.О. и др. // ФТТ. 2009. Т 51. № 7. С. 1407.
- Kapphan S., Pedko B., Trepakov V. et al. // Radiation effects and defects in solids. 2002. V. 157. № 6–12. P. 1033. https://doi.org/10.1080/10420150215799
- Педько Б.Б., Бурцев А.В., Зазнобин Т.О. и др. // Изв. вузов. Материалы электронной техники. 2009. № 2. С. 20.
- Бурцев А.В., Педько Б.Б. // Релаксационные явления в твердых телах. Матер. XXIV междунар. конф. Воронеж: Воронежский государственный технический университет, 2019. С. 66.






