Структурообразование неионогенного блоксополимера pluronic P123 при варьировании температуры
- Авторы: Завалюева А.С.1, Карпов С.И.1, Дубовицкая А.Н.1, Холявка М.Г.1, Селеменев В.Ф.1
-
Учреждения:
- Воронежский государственный университет
- Выпуск: Том 86, № 4 (2024)
- Страницы: 446-457
- Раздел: Статьи
- Статья получена: 21.11.2024
- Статья одобрена: 21.11.2024
- Статья опубликована: 15.07.2024
- URL: https://bakhtiniada.ru/0023-2912/article/view/270840
- DOI: https://doi.org/10.31857/S0023291224040042
- EDN: https://elibrary.ru/capcyh
- ID: 270840
Цитировать
Полный текст
Аннотация
Методом динамического рассеяния света исследованы водные растворы Pluronic P123 при варьировании температуры, растворителя и добавок кверцетина. Выявлены существенные изменения среднего размера частиц и индекса полидисперсности в зависимости от условий. Изучено влияние температуры на мицеллообразование блоксополимера в водном растворе в интервале T = 15–45°С, наиболее часто рассматриваемом при использовании Р123 в золь-гель синтезе кремнеземов. Наиболее существенное влияние температуры на мицеллообразование рассматриваемого ПАВ отмечено при T = 15–20°C. При этом распределение интенсивности рассеяния по размерам полимодально, что указывает на присутствие в системе макромолекул, мицелл и их агрегатов. Дальнейший рост температуры до 45°C не приводит к значительному изменению размера частиц. В водных растворах в интервалах температур 21–25 и 35–40°C формируются мицеллы с узким распределением по размерам (минимальным индексом полидисперсности). Отмечено значительное влияние добавок алканолов и полифенольных веществ как солюбилизатов, способных влиять на структуру мицелл как в их объеме, так и на поверхности полярных частей ПАВ. Показано, что в присутствии бутанола-1 наблюдается стабилизация мицелл при температурах 15–20°C. При T > 30°C происходят перестройки структуры мицелл. По мере увеличения доли бутанола-1 в растворе его влияние проявляется при меньших температурах. Отмечено, что этанол оказывает деструктивное действие на мицеллы. Добавки кверцетина проявляют противоположный стабилизирующий мицеллы эффект, приводящий к формированию однородной структуры ПАВ. Показано, что, варьируя состав растворителя, можно контролировать связывание флавоноида с мицеллой за счет изменения сольватации. Наибольшее влияние кверцетина на структурообразование P123 отмечено при составе растворителя, отвечающего мольному соотношению этанола и блоксополимера n(EtOH) : n(P123)=80 : 1.
Ключевые слова
Полный текст
ВВЕДЕНИЕ
Поверхностно-активные вещества (ПАВ) широко используются в создании систем доставки лекарств [1–4] и в синтезе упорядоченных кремнеземов [5–9]. Среди неионогенных ПАВ выделяют блоксополимеры (полиэтиленоксид-полипропиленоксид-полиэтиленоксид), например, Pluronic P123 [10]. Их особенностью является возможность формировать стабильные гексагональные, кубические и ламеллярные мезофазы. Одним из направлений использования таких ПАВ является темплатный синтез кремнеземов различной степени упорядоченности, в котором структура твердофазного материала может варьироваться в зависимости от типа перечисленных выше мезофаз [11–16]. Изучение структурообразования шаблонов позволяет управлять функциональными свойствами растворов блоксополимеров (снижать расход реактивов, время процесса и др.), в том числе в темплатном синтезе новых материалов. Однако перед выбором условий синтеза новых кремнеземов необходимо проверить применимость такого подхода.
Способность к мицеллообразованию определяется свойствами самого ПАВ (количество звеньев в цепи, соотношение длины и последовательность блоков) [10] и такими факторами, как температура, природа и состав растворителя, присутствие других веществ [17]. Влияние температуры при изучении структурообразования неионогоненных ПАВ является одним из наиболее существенных [10, 18, 19]. Очевидно, при варьировании температуры можно ожидать изменения взаимодействий ПАВ–растворитель, ПАВ–добавка–растворитель [20], что требует детального рассмотрения. Одним из методов, который дает информацию о размере надмолекулярных образований, в том числе в условиях формирования наночастиц ПАВ, является динамическое рассеяние света [21–23].
Надмолекулярная структура ПАВ, способность формировать различные мезофазы могут изменяться в присутствии добавок компонентов раствора [1, 3, 24, 25]. Вещества, обладающие значительной гидрофобностью, способны к солюбилизации с встраиванием в различные участки мицелл [19, 26]. В литературе рассмотрено взаимодействие блоксополимеров Pluronic с различными органическими добавками [4, 26, 27]. Одной из таких групп веществ являются полифенольные вещества [28]. Их способность к взаимодействию с блоксополимерами приводит к изменению сольватации молекул [2, 25, 29, 30]. Присутствие добавок полифенолов также может влиять на структуру формирующихся мицелл в растворах ПАВ [24]. Это направление исследований недостаточно полно обсуждается в работах по синтезу кремнеземов [31, 32]. Авторами [30] показано, что солюбилизация кверцетина мицеллами Pluronic P123 определяется преимущественно взаимодействиями с блоком полипропиленоксида. Представляет интерес исследование системы в условиях ниже критической температуры мицеллообразования. Стоит отметить, что в системах доставки лекарств [17] и при синтезе упорядоченных мезопористых кремнеземов с использованием блоксополимеров [12] в растворах присутствует этанол. В связи с этим важно рассмотрение взаимодействий блоксополимера с кверцетином в водно-этанольных растворах.
Целью данной работы является изучение структурообразования блоксополимера Pluronic P123, используемого в темплатном синтезе упорядоченных кремнеземов. Среди задач работы, решаемых методом динамического рассеяния света, можно выделить следующие:
- рассмотрение закономерностей изменения размера мицелл блоксополимера Pluronic P123 и их дисперсности при варьировании температуры;
- изучение влияния состава раствора на структуру неионогенного блоксополимера Pluronic Р123:
- роль добавок спиртов (этанола и бутанола-1);
- роль добавок полифенольных веществ (на примере кверцетина).
ЭКСПЕРИМЕНТАЛЬНАЯ ЧАСТЬ
Объекты исследования и приготовление растворов
В качестве объекта исследования выбран триблоксополимер полиэтиленоксид-полипропиленоксид-полиэтиленоксида (EO)20(PO)70(EO)20 Pluronic P123 (Sigma-Aldrich). Исследование структурообразования неионогенного ПАВ проводили при его концентрации 2.6 мас. % в 1.6 М растворах соляной кислоты.
При изучении влияния добавок веществ, обладающих способностью растворять блоксополимер Р123, вносили заданные объемы этанола, бутанола-1 и/или этанольного раствора кверцетина (ООО “Катроса”, Россия), получая растворы с мольным соотношением компонентов, приведенные в табл. 1.
Таблица 1. Соотношение компонентов в исследуемых растворах
Вещество | Соотношение n(добавка):n(P123)=x:1 |
Бутанол-1 (BuOH) | 40, 60, 80, 160 |
Этанол (EtOH) | 80, 160, 250, 370 |
Кверцетин (Quer) | 0.024, 0.072, 0.144 |
Динамическое рассеяние света
Размеры частиц в растворах Pluronic P123 определяли на анализаторе Nano Zetasizer ZS instrument (Malvern Instruments, Великобритания) в интервале температур 15–45°С. В качестве источника излучения выступал He/Ne лазер мощностью 4 мВт и длиной волны 633 нм. Угол рассеяния составлял 173°. Перед измерениями пропускали анализируемые растворы через мембранный фильтр Spritzen-/Syringe-Filter 0.45 мкм для удаления пыли и других посторонних частиц.
Распределения частиц по размерам в единицах интенсивности получены из анализа автокорреляционных функций с использованием алгоритма General purpose программного обеспечения анализатора. Распределение по размерам в единицах объема и числа частиц проводилось согласно теории Ми. Средний размер частиц в системе определяли методом кумулянтов. Гидродинамический диаметр частиц рассчитывали по уравнению Стокса–Эйнштейна:
где - гидродинамический диаметр частиц, нм; – постоянная Больцмана, 1.38∙10–23 Дж/К; T – температура, К; η – вязкость растворителя, Па∙с; – коэффициент диффузии, м2/с.
Индекс полидисперсности PDI рассчитывали по формуле:
где σ – стандартное отклонение гидродинамического диаметра, нм.
РЕЗУЛЬТАТЫ И ОБСУЖДЕНИЕ
Влияние температуры
Известно [10], что ПАВ способны образовывать в водных растворах мицеллы различных типов в зависимости от концентрации, температуры и других условий. Температурная зависимость размера мицелл и дисперсности в интервале 25–45°C обсуждалась в предыдущей работе [12]. Указанный диапазон температур обеспечивает формирование упорядоченных гексагональных мицеллярных структур, необходимых при использовании ПАВ в качестве шаблона для синтеза упорядоченных кремнеземов типа SBA-15 [12]. В то же время важно рассмотрение более широкого интервала температур для выявления особенностей образования и трансформации структур мицелл неионогенного поверхностно-активного вещества в растворах. В настоящей работе изучаемый температурный интервал расширен, начиная с 15°C.
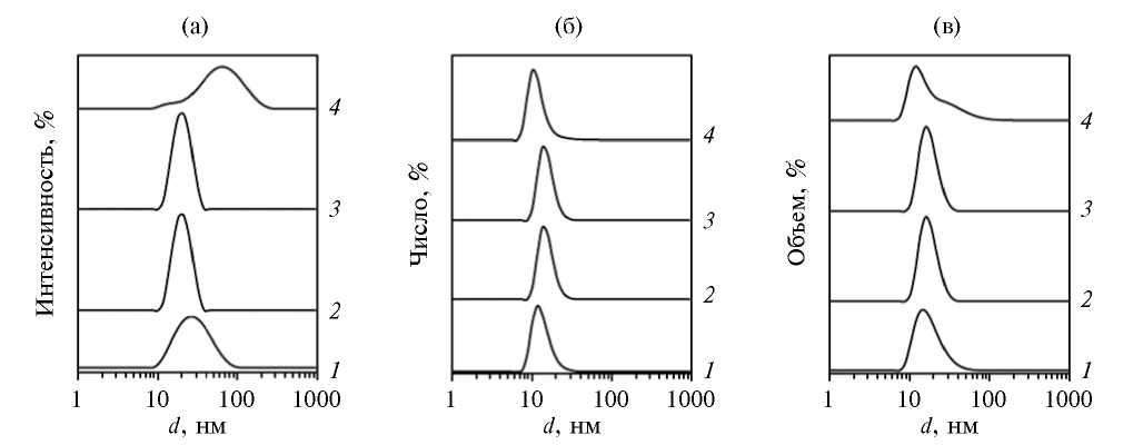
Полученная зависимость среднего гидродинамического диаметра частиц в растворе P123 от температуры имеет немонотонный характер (рис. 1). Наибольшие изменения отмечены при температурах 15–20°C. В этих условиях распределение интенсивностей по размерам полимодально, что указывает на присутствие в системе макромолекул (в том числе моно- и диблоков, присутствующих в Pluronic в виде примесей [33]) и их агрегатов при температурах ниже 21°C (рис. 1, табл. 2). Величины dh частиц в водном растворе ПАВ при дальнейшем повышении температуры до 45°C указывают на формирование мицелл [34]. Наибольший вклад в интенсивность рассеянного света вносят частицы большего размера [35], поэтому для анализа полидисперсных систем необходимо построение кривых распределения по размерам, по объему и по числу частиц. Как видно на рис. 1, при T = 15°C (кривая 1), в координатах число (объем) – гидродинамический диаметр, остается единственный пик с dh < 10 нм. Это согласуется с работой [10], в которой показано, что при T < 20°C в водных растворах Pluronic P123 мицеллы не образуются. На кривых 2 и 3 (T = 17 и 20°C) в случае распределения по объему и числу остается значительный вклад частиц с размером, превышающим 10 нм. Вероятно, в этих условиях преобладают недиффузионные процессы, что является ограничением для получения достоверных данных методом динамического рассеяния света и требует привлечения других методов [35]. Для блоксополимеров причинами появления дополнительных пиков на кривых распределения могут быть композиционная неоднородность [36] и межцепная динамика [37].
Рис. 1. Распределение по размерам в растворе P123 при варьировании температуры (1 – 15°C, 2 – 17°C, 3 – 20°C, 4 – 21°C, 5 – 25°C, 6 – 30°C, 7 – 35°C, 8 – 40°C, 9 – 45°C): а) по интенсивности рассеяния; б) по числу частиц; в) по объему.
Таблица 2. Средний гидродинамический диаметр dh, ср и индекс полидисперсности (PDI) частиц в водных растворах Pluronic P123 при варьировании температуры
T, °C | dh, ср, нм | PDI |
15 | 94±6 | 0.52±0.01 |
20 | 24.5±0.2 | 0.23±0.01 |
25 | 21.0±0.2 | 0.09±0.01 |
30 | 25.2±1.2 | 0.19±0.01 |
35 | 20.5±0.2 | 0.05±0.01 |
40 | 20.6±0.2 | 0.03±0.01 |
45 | 30.2±0.2 | 0.18±0.01 |
Влияние добавок бутанола-1
Способность к мицеллообразованию ПАВ может изменяться в присутствии различных веществ в растворе. Влияние добавок определяется их концентрацией, природой, в особенности поверхностной активностью и гидрофобностью. Например, в зависимости от длины и разветвленности углеводородной цепи спиртов изменяется их роль в структурообразовании [17, 38]. С одной стороны, они способны к сольватации (в качестве сорастворителя), с другой – к встраиванию в мицеллы с изменением их морфологии [39]. В смешанных растворителях действие короткоцепочечных спиртов проявляется в повышении критической концентрации мицеллообразования (ККМ) и критической температуры мицеллообразования (КТМ) [40]. Это обусловлено тем, что метанол и этанол являются хорошими растворителями как для блоков полиэтиленоксида, так и полиэтиленоксида. Пропанол-1 не оказывает значительного влияния. Начиная с бутанола-1, ККМ и КТМ, напротив, снижаются.
Растворы рассматриваемых ПАВ характеризуются последовательной сменой типа мезофаз с ростом концентрации. На фазовой диаграмме Pluronic P123, предложенной Wanka с соавт. [10], присутствуют области существования кубической (20–40 мас. %) и гексагональной (выше 40 мас. %) фаз. Для снижения концентрационного диапазона существования упорядоченных мезофаз в раствор могут быть введены различные добавки (изменяющие сольватацию ПАВ, межмолекулярные взаимодействия, структурообразование): соли, спирты и др. [17]. Влияние спиртов на мицеллообразование блоксополимеров широко изучено в литературе. Отмечается [1], что высшие спирты, начиная с бутанола-1, сорбируются на поверхности мицелл, увеличивая их размер. Авторами [27] на примере другого блоксополимера Pluronic F127 (с близкими к Рluronic P123 свойствами) показано, что упорядоченная кубическая мезофаза формируется уже при 15 мас. % блоксополимера. Бутанол-1 снижает концентрацию существования кубических наноструктур до 9 мас. %, а температуру до комнатной. Предполагается, что бутанол-1 вытесняет воду из ядра мицелл, вызывая их переход от сфер к стержням [25].
Для рассмотрения структурообразования неионогенного ПАВ методом динамического рассеяния света в настоящей работе определены размеры и дисперсность мицелл Pluronic P123 в присутствии бутанола-1. Основанием для выбора соотношения компонентов раствора (ПАВ–вода–бутанол-1) можно считать составы растворов Pluronic P123 в условиях темплатного синтеза кремнеземов. Авторами [6] отмечено, что при варьировании соотношения n(BuOH) : n(P123) образуются материалы с гексагональной (типа SBA-15), кубической (типа KIT-6) или неупорядоченной структурами.
На рис. 2 приведены зависимости среднего гидродинамического диаметра dh от температуры растворов Pluronic P123 в воде и с добавками бутанола-1. Присутствие указанного алканола стабилизирует мицеллы при температурах ниже 20°С. При соотношении n(BuOH) : n(P123) = 40 : 1 стабилизация наблюдается и выше Т = 40°С. Начиная с Т = 35°C, наблюдается рост dh для составов n(BuOH) : n(P123) = 80 : 1 и 60 : 1. Как отмечено в работе [25], увеличение размера частиц может указывать на перестройку структуры мицелл из сферической формы в стержнеобразную (цилиндрическую) или характеризовать их агрегацию. Поскольку известно, что при синтезе мезопористых кремнеземов в этих условиях формируются материалы с кубической симметрией [6], можно связать рост размера частиц с трансформациями структуры. При соотношении n(BuOH) : n(P123) = = 160 : 1 (рис. 2) перегиб на кривой смещается в сторону низких температур, что может указывать на агрегацию или перестройку структур другого типа. Выявленные закономерности согласуются с литературными данными по синтезу упорядоченных кремнеземов, аналогов SBA-15 и KIT-6. Ryoo с соавт. [6] отмечено, что при соотношениях бутанола-1 и сополимера меньше 60 : 1 образуются кремнеземы с двумерной гексагональной структурой, как и в отсутствие бутанола-1. В этом случае не отмечено изменение размера частиц с ростом температуры (рис. 2, кривая 2). Соотношения, превышающие 130 : 1, препятствуют формированию упорядоченных кремнеземов. На кривой зависимости dh от T, соответствующей составу n(BuOH) : n(P123)=160 : 1, отмечено резкое возрастание размера частиц, которое можно связать с агрегацией частиц и разупорядочиванием наночастиц P123. Важно учитывать, что средний гидродинамический диаметр, полученный кумулятивным методом, близок к взвешенной по интенсивности величине размера частиц только для мономодальных распределений, поэтому позволяет оценить только первичные качественные изменения в системе [35].
Рис. 2. Зависимость среднего гидродинамического диаметра от температуры при варьировании соотношения n(BuOH) : n(P123) : 1 – 0; 2 – 40 : 1; 3 – 60 : 1; 4 – 80 : 1; 5 – 160 : 1.
Наиболее заметное влияние бутанола-1 на размер и дисперсность мицелл P123 наблюдается при 30 и 40–45 °C (рис. 3). При T = 30°C распределение характеризуется меньшей дисперсией (PDI = 0.03) и средним размером dh = 20 нм (кривая 3). Аналогичный вид зависимости получен при 40°C без добавок алканола (кривая 2). Средний размер составляет dh = 21 нм, а индекс полидисперсности PDI = 0.03. В связи с этим предполагается формирование упорядоченных систем неионогенного P123 при температурах, близких к комнатной (Т = 25–30°С). Начиная с 35°C при соотношении n(BuOH) : n(P123) = 80 : 1 рост размера частиц сопровождается появлением выраженной асимметричности пиков на кривых распределения частиц по размеру (кривая 4). Аналогичное бимодальное распределение интенсивности и увеличение размера мицелл Pluronic F127 в присутствии бутанола-1 при 40°C отмечены в работе [25]. Необходимо принимать во внимание, что в системах с несферическими частицами на корреляционной кривой возникает быстрое и медленное затухание, которые преобразуются в отдельные пики на кривой распределения [35].
Рис. 3. Распределение по размерам частиц Pluronic P123: 1, 2 – в водном растворе, 3, 4 – в присутствии бутанола-1 (n(BuOH) : n(P123)=80 : 1): а) по интенсивности рассеяния; б) по числу частиц; в) по объему. T = 30°C (1, 3) и 40°C (2, 4).
В целом по мере увеличения доли бутанола-1 в растворе его влияние в большей степени проявляется при температурах ниже 30°C. Это согласуется с температурными закономерностями гидратации мицелл блоксополимера. При T > 30°C происходит заметная дегидратация мицелл [12], сопровождающаяся уменьшением их размера. В присутствии бутанола-1, обладающего одновременно свойствами растворителя и поверхностно-активного вещества, дегидратация может сопровождаться замещением молекул воды на алканол. В свою очередь, изменение структуры сольватной оболочки будет вызывать изменения морфологии наночастиц.
Таким образом, выявленные закономерности структурообразования блоксополимера Pluronic P123 в водном растворе при варьировании температуры указывают на важность учета особенностей формирования и трансформации мицелл в присутствии бутанола-1, в том числе в условиях синтеза кремнезема и получения материалов с воспроизводимыми свойствами.
Влияние этанола
Короткоцепочечные спирты, являясь хорошим растворителем как для блоков полиэтиленоксида, так и для полиэтиленоксида [41] за счет их сольватации, повышают критическую концентрацию мицеллообразования блоксополимеров. На рис. 4 приведены кривые распределения частиц Pluronic P123 по размерам. Наблюдается два пика в диапазоне 3–10 нм и 10–200 нм соответственно (рис. 4а). Пик 1 можно интерпретировать как наличие в растворе отдельных макромолекул, а пик 2 – их агрегатов. Значительная интенсивность пика 1 указывает на повышение доли индивидуальных молекул блоксополимера в растворе при 20°C. Стоит отметить, что при более высоких температурах (Т > 25°C) распределение становится мономодальным. На рис. 4г–е приведены зависимости, полученные при 40°C. Можно отметить с ростом температуры смещение распределения частиц в сторону больших размеров dh относительно соответствующего распределения для водного раствора. В случае n(EtOH) : n(P123) = 80 : 1 отмеченный эффект сопровождается уширением пика. Бимодальное распределение в присутствии этанола при низких температурах и аналогичная характеристика кривых распределения частиц по размерам ранее отмечались также авторами [42] для водных растворов Pluronic F127.
Рис. 4. Распределение по размерам частиц Pluronic P123 при варьировании состава водно-этанольного растворителя: 1 – без добавок этанола; 2 – n(EtOH) : n(P123) = 80 : 1; 3 – n(EtOH) : n(P123) = 160 : 1; 4 – n(EtOH) : n(P123) = 370 : 1; а, г) по интенсивности рассеяния; б, д) по числу частиц; в, е) по объему. T = 20°C (а–в) и 40°C (г–е).
Можно полагать, что эффект влияния спиртов на структуру блоксополимеров определяется длиной углеводородного радикала алканола, а интервал температур для трансформации морфологии мицелл в значительной мере зависит от размера гидрофобной и гидрофильной частей ПАВ (в том числе с учетом сольватации).
Влияние кверцетина
Участвовать в перестройках структуры мицелл способны не только компоненты растворителя, обладающие поверхностной активностью, но и вещества, встраивающиеся в структуру мицелл за счет гидрофобных и других типов взаимодействий [24]. Изучение структурообразования Pluronic P123 в растворах в присутствии добавок проводили на примере полифенольного вещества кверцетина.
Поскольку, как отмечено выше, наиболее однородная мицеллярная структура Pluronic P123 формируется при 40°C, влияние кверцетина рассматривали сначала при этой температуре. В водной среде средний диаметр мицелл неионогенного ПАВ составляет 20 нм и сохраняется при солюбилизации кверцетина при соотношении n(Quer) : n(P123) = 0.24 : 1. В ряде работ [3, 4, 24] показано, что включение гидрофобных молекул в ядро мицелл приводит к увеличению размера частиц. Однако Thapa с соавт. [42] отмечают, что не было значимых различий в размерах частиц Pluronic F127 в присутствии куркумина и без него. Аналогичный результат получен Волковой с соавт. [41] для системы Pluronic F127- умифеновир.
В литературе [19, 26] отмечено, что малорастворимые биологически активные молекулы в зависимости от полярности и размера могут включаться в различные участки мицелл. Как показано в [19], кверцетин локализуется в ядре мицелл Pluronic P104. Вероятно, такое расположение будет характерно и в случае Pluronic P123. Авторами [43] отмечено, что распределение добавок между фазами раствора и мицеллярных образований, локализация в мицеллах могут отличаться в водных и водно-органических растворителях. Например, при переходе от водного к водно-этанольному растворителю снижается прочность связывания рутина, относящегося к группе флавоноидов, с мицеллами неионогенного ПАВ Triton X-114 [29]. Можно полагать, что добавка этанола позволит изменить распределение молекул кверцетина между мицеллами и растворителем, что может быть использовано для получения сорбентов с высокой селективностью.
Влияние этанола и кверцетина на структурообразование триблоксополимера изучено при варьировании температуры и мольных соотношений n(P123) : n(EtOH) : n(Quer) = 1 : x : y, где x = 0, 80, 160, 250, 370, y = 0, 0.24, 0.72, 0.144. Наибольший интерес представляют температуры 20 и 40°C. В первом случае наблюдается наиболее заметное влияние добавок на структурообразование блоксополимера. Повышение температуры до 40°С способствует формированию наночастиц с минимальной дисперсностью.
Как уже отмечалось выше, добавка этанола приводит к частичному разрушению мицелл. Однако в присутствии гидрофобных биологически активных веществ их солюбилизация в смешанном растворителе может повышаться, поскольку сольватация всех блоков сополимера приводит к возрастанию межфазной площади поверхности [41]. При 20°C можно проследить, что флавоноид снижает критическую температуру мицеллообразования триблоксополимера в водно-этанольной среде. На рис. 5 приведены кривые распределения интенсивности по размерам в присутствии флавоноида. По мере возрастания концентрации кверцетина в водно-этанольном растворе ПАВ снижается площадь пика, соответствующего свободным макромолекулам (с размером менее 10 нм). Очевидно, что содержание спирта и полифенола являются двумя факторами, оказывающими влияние на структуру и полимодальность мицелл ПАВ. Эффект этих добавок является разнонаправленным: этанол приводит к частичному разрушению мицелл, в то время как кверцетин проявляет структурирующее действие по отношению к блоксополимеру. Способность гидрофобных веществ к снижению температуры и концентрации мицеллообразования неионогенных ПАВ отмечалась в [29, 42]. Авторы [44] объясняют это образованием комплексов флавоноида со свободными молекулами ПАВ, которые впоследствии организуются в мицеллы. В работе [42] отмечено, что присутствие куркумина в водно-этанольном растворе Pluronic F127 способствует увеличению доли мицелл. Можно полагать, что указанный эффект полифенола на структурообразование ПАВ закономерен и для других гидрофобных веществ и блоксополимеров.
Рис. 5. Распределение по размерам частиц Pluronic P123 при варьировании соотношения n(Quer) : n(P123): 1 – 0; 2 – 0.024; 3 – 0.072; 4 – 0.144: а) по интенсивности рассеяния; б) по числу частиц; в) по объему. T = 20°С, n(EtOH) : n(P123) = 160 : 1.
При более высоких температурах в зависимости от содержания сорастворителя и полифенола в растворе можно проследить изменение их роли в структурообразовании неионогенного ПАВ. Мономодальность распределения при 40°C позволяет использовать для характеристики системы средний гидродинамический диаметр (dh). Как показано выше, влияние этанола при T = 40°С состоит в увеличении размера от dh = 20 нм до 23 нм (при соотношении n(EtOH) : n(P123) = 80 : 1) и уменьшении до 14–18 нм при остальных составах раствора (от n(EtOH) : n(P123) = 160 : 1 до n(EtOH) : n(P123) = 370 : 1). В присутствии кверцетина изменение размера dh и полидисперсности PDI мицелл блоксополимера немонотонно при варьировании состава растворителя (рис. 6).
Рис. 6. Зависимость среднего гидродинамического диаметра (а) и индекса полидисперсности (б) от мольного соотношения n(Quer) : n(P123) при варьировании состава водно-этанольного растворителя: 1 – n(EtOH) : n(P123) = 80 : 1; 2 – n(EtOH) : n(P123) = 160 : 1; 3 – n(EtOH) : n(P123) = 250 : 1; 4 – n(EtOH) : n(P123) = 370 : 1. Температура измерений 40°C.
Величина среднего гидродинамического диаметра может быть использована только для первичной оценки качественных изменений в исследуемой системе. Дополнительный вклад в ошибку определения возникает при анализе многокомпонентных растворов в смешанных растворителях [35]. Для определения истинного размера мицелл в исследуемой системе необходимо привлечение других методов, что не входило в задачи работы. Однако анализ величин dh, ср позволяет выявить состав растворителя, при котором проявляется наиболее заметное влияние флавоноида на свойства наночастиц полимерного ПАВ.
Солюбилизация кверцетина в водном растворе ПАВ не приводит к росту размера мицелл последних, а увеличение размера наночастиц может быть вызвано особенностями сольвации молекул флавоноида, что подтверждается в работе [24]. При минимальном из указанных содержаний этанола в растворе (n(EtOH) : n(P123) = 80 : 1) его заметное влияние нивелируется присутствием кверцетина, поскольку dh снижается от 23 до 19 нм независимо от концентрации полифенола. В присутствии кверцетина с ростом содержания этанола проявляется их синергизм. При добавлении флавоноида к водно-этанольному раствору ПАВ (соотношения n(EtOH) : n(P123) = 160 : 1 и 250 : 1) наблюдается увеличение размера мицелл. При дальнейшем увеличении соотношения n(EtOH) : n(P123) до 370 : 1 влияние кверцетина нивелируется. Размер частиц ПАВ при этом составляет 14 нм независимо от концентрации флавоноида. Данный факт указывает на первостепенное влияние этанола как растворителя на структуру мицелл, их размер и полидисперсность. Также это может быть связано с повышением растворимости кверцетина в фазе раствора за счет снижения полярности растворителя [44].
Можно полагать, что наиболее благоприятным, в том числе для формирования молекулярных отпечатков при синтезе кремнеземов темплатным методом, является состав растворителя, при котором наблюдается наиболее заметное влияние кверцетина. Он отвечает мольному соотношению этанола и блоксополимера n(EtOH) : n(P123) = 80 : 1.
ЗАКЛЮЧЕНИЕ
Методом динамического рассеяния света изучено мицеллообразование неионогенного ПАВ Pluronic P123 при варьировании условий. Показано существенное влияние температуры, состава растворителя и добавок малорастворимого полифенольного вещества. Отмечено, при температурах ниже 20°C в растворе присутствуют частицы ПАВ нескольких типов. В водных растворах мицеллы с узким распределением по размерам (минимальным индексом полидисперсности) формируются в интервалах температур 21–25 и 35–40°C.
Показано, что бутанол-1 приводит к стабилизации мицелл блоксополимера при температурах 15–20°C. В рассмотренном интервале содержаний алканола (n(BuOH) : n(P123) от 60 : 1 до 160 : 1) при T > 30°С происходит перестройка структуры или агрегация частиц Pluronic P123. С ростом содержания бутанола-1 его разупорядочивающее влияние на структуру мицелл проявляется при более низких температурах (27–40°С).
Отмечено, что при T = 20°C присутствие этанола в водном растворе Р123 приводит к частичному разрушению его мицелл. Добавки кверцетина оказывают, напротив, эффект стабилизации структуры Pluronic P123. Варьируя состав растворителя, за счет изменения сольватации, можно контролировать связывание флавоноида с мицеллой и его положение в объеме или на поверхности мицелл P123. При T = 40°C отмечается синергизм влияния кверцетина и этанола на размер и дисперсность мицелл блоксополимера.
ФИНАНСИРОВАНИЕ РАБОТЫ
Работа выполнена при поддержке Министерства науки и высшего образования РФ в рамках государственного задания вузам в сфере научной деятельности на 2023–2025 годы, проект FZGU-2023-0009.
СОБЛЮДЕНИЕ ЭТИЧЕСКИХ СТАНДАРТОВ
В данной работе отсутствуют исследования человека или животных.
КОНФЛИКТ ИНТЕРЕСОВ
Авторы данной работы заявляют, что у них нет конфликта интересов.
Об авторах
А. С. Завалюева
Воронежский государственный университет
Автор, ответственный за переписку.
Email: a-kh-01@yandex.ru
Россия, Университетская пл., 1, Воронеж, 394018
С. И. Карпов
Воронежский государственный университет
Email: a-kh-01@yandex.ru
Россия, Университетская пл., 1, Воронеж, 394018
А. Н. Дубовицкая
Воронежский государственный университет
Email: a-kh-01@yandex.ru
Россия, Университетская пл., 1, Воронеж, 394018
М. Г. Холявка
Воронежский государственный университет
Email: a-kh-01@yandex.ru
Россия, Университетская пл., 1, Воронеж, 394018
В. Ф. Селеменев
Воронежский государственный университет
Email: a-kh-01@yandex.ru
Россия, Университетская пл., 1, Воронеж, 394018
Список литературы
- Patidar P., Bahadur A. Modulating effect of different biomolecules and other additives on cloud point and aggregation of amphiphilic linear and starblock copolymer // Journal of Molecular Liquids. 2018. V. 249. P. 219–226. https://doi.org/10.1016/j.molliq.2017.11.019
- Patidar P., Pillai S.A., Bahadur P., Bahadur A. Tuning the self-assembly of EO-PO block copolymers and quercetin solubilization in the presence of some common pharmacuetical excipients: A comparative study on a linear triblock and a starblock copolymer // Journal of Molecular Liquids. 2017. V. 241. P. 511–519. https://doi.org/10.1016/j.molliq.2017.06.035
- Wei D., Ge L., Guo R. Microstructure transition of hydrophilic modified ibuprofen and Pluronic copolymer F127 complexes // Colloid and Polymer Science. 2013. V. 291. P. 1255–1265. https://doi.org/10.1007/s00396-012-2859-8
- Basak R., Bandyopadhyay R. Encapsulation of hydrophobic drugs in Pluronic F127 micelles: Effects of drug hydrophobicity, solution temperature, and pH // Langmuir. 2013. V. 29. № 13. P. 4350–4356. https://doi.org/10.1021/la304836e
- Zhao D., Feng J., Huo Q. et al. Triblock copolymer syntheses of mesoporous silica with periodic 50 to 300 angstrom pores // Science. 1998. V. 279. № 5350. P. 548–552. https://doi.org/10.1126/science.279.5350.548
- Kim T. W., Kleitz F., Paul B., Ryoo R. MCM-48-like large mesoporous silicas with tailored pore structure: Facile synthesis domain in a ternary triblock copolymer-butanol-water system // Journal of the American Chemical Society. 2005. V. 127. № 20. P. 7601–7610. https://doi.org/10.1021/ja042601m
- Roik N.V., Belyakova L.A., Dziazko M.O., Oranska O.I. Influence of azo dye additives on structural ordering of mesoporous silicas // Applied Nanoscience. 2020. V. 10. № 8. P. 2547–2556. https://doi.org/10.1007/s13204-019-01013-5
- Дементьева О.В., Наумова К.А., Шишмакова Е.М. и др. Синтез бифункциональных частиц-контейнеров из кремнезема на мицеллах антисептика с солюбилизированным куркумином и оценка их биологической активности // Коллоид. журн. 2021. Т. 83. № 6. С. 623–633. https://doi.org/10.31857/s0023291221060021
- Beck J.S., Vartuli J.C., Roth W.J. et al. A new family of mesoporous molecular sieves prepared with liquid crystal templates // Journal of the American Chemical Society. 1992. V. 114. № 27. P. 10834–10843. https://doi.org/10.1021/JA00053A020
- Wanka G., Hoffmann H., Ulbricht W. Phase diagrams and aggregation behavior of poly(oxyethylene)-poly(oxypropylene)-poly(oxyethylene) triblock copolymers in aqueous solutions // Macromolecules. 1994. V. 27. № 15. P. 4145–4159. https://doi.org/10.1021/ma00093a016
- Letaief N., Lucas-Girot A., Oudadesse H. et al. Effect of aging temperature on the structure, pore morphology and bioactivity of new sol-gel synthesized bioglass // Journal of Non-Crystalline Solids. 2014. V. 402. P. 194–199. https://doi.org/10.1016/j.jnoncrysol.2014.06.005
- Хлуднева А.С., Карпов С.И., Ресснер Ф., Селеменев В.Ф. Структура и сорбционные свойства мезопористых кремнеземов, синтезированных при варьировании температуры и кремниевой основы // Сорбционные и хроматографические процессы. 2021. Т. 21. № 5. С. 669–680. https://doi.org/10.17308/sorpchrom.2021.21/3773
- Dan H., Chen L., Xian Q. et al. Tailored synthesis of SBA-15 rods using different types of acids and its application in adsorption of uranium // Separation and Purification Technology. 2019. V. 210. P. 491–496. https://doi.org/10.1016/j.seppur.2018.08.039
- Costa F.O., Misael C.G.A., Silva A.M., Sousa B.V. Textural analysis of SBA-15 molecular sieve using ethanol as co-solvent // Adsorption. 2015. V. 21. P. 671–676. https://doi.org/10.1007/s10450-015-9717-1
- Semeykina V., Zharov I. Medium controlled aggregative growth as a key step in mesoporous silica nanoparticle formation // Journal of Colloid and Interface Science. 2022. V. 615. P. 236–247. https://doi.org/10.1016/j.jcis.2022.01.166
- Oliveira M.R., Deon M., Benvenutti E.V. et al. Effect of microwave irradiation on the structural, chemical, and hydrophilicity characteristics of ordered mesoporous silica SBA-15 // Journal of Sol-Gel Science and Technology. 2020. V. 94. P. 708–718. https://doi.org/10.1007/s10971-020-05219-w
- Li Y., Tian Y., Jia X. et al. Effect of pharmaceutical excipients on micellization of Pluronic and the application as drug carrier to reverse MDR // Journal of Molecular Liquids. 2023. V. 383. P. 122182. https://doi.org/10.1016/j.molliq.2023.122182
- Khimani M., Rao U., Bahadur P., Bahadur P. Calorimetric and scattering studies on micellization of Pluronics in aqueous solutions: Effect of the size of hydrophilic PEO end blocks, temperature, and added salt // Journal of Dispersion Science and Technology. 2014. V. 35. № 11. P. 1599–1610. https://doi.org/10.1080/01932691.2013.858349
- Parmar A., Singh K., Bahadur A. et al. Interaction and solubilization of some phenolic antioxidants in Pluronic® micelles // Colloids and Surfaces B: Biointerfaces. 2011. V. 86. № 2. P. 319–326. https://doi.org/10.1016/j.colsurfb.2011.04.015
- Chaghi R., Ménorval L.C.de, Charnay C., Zajac J. Competitive interactions between components in surfactant-cosurfactant-additive systems // Journal of Colloid and Interface Science. 2010. V. 344. № 2. P. 402–409. https://doi.org/10.1016/j.jcis.2009.12.064
- Ерин К.В. Об изменении распределения частиц и агрегатов по размерам при разбавлении магнитных жидкостей // Коллоид. журн. 2017. Т. 79. № 1. С. 32–37. https://doi.org/10.7868/s0023291217010037
- Молодкина Л.М., Голикова Е.В., Бареева Р.С. и др. Кинетика агрегации гидрозоля ОХ50 в растворах NаCl, исследованная методом динамического светорассеяния // Коллоид. журн. 2016. Т. 78. № 5. С. 578–587. https://doi.org/10.7868/s0023291216050104
- Branca C., D’Angelo G. Aggregation behavior of Pluronic F127 solutions in presence of chitosan/clay nanocomposites examined by dynamic light scattering // Journal of Colloid and Interface Science. 2019. V. 542. P. 289–295. https://doi.org/10.1016/j.jcis.2019.02.031
- Luo H., Jiang K., Liang X. et al. Insights into morphological transition of Pluronic P123 micelles as a function of gallate // Colloids and Surfaces A: Physicochemical and Engineering Aspects. 2019. V. 572. P. 221–229. https://doi.org/10.1016/j.colsurfa.2019.04.005
- Dey J., Kumar S., Nath S. et al. Additive induced core and corona specific dehydration and ensuing growth and interaction of Pluronic F127 micelles // Journal of Colloid and Interface Science. 2014. V. 415. P. 95–102. https://doi.org/10.1016/j.jcis.2013.10.019
- Nguyen-Kim V.., Prévost S., Seidel K. et al. Solubilization of active ingredients of different polarity in Pluronic® micellar solutions – Correlations between solubilizate polarity and solubilization site // Journal of Colloid and Interface Science. 2016. V. 477. P. 94–102. https://doi.org/10.1016/j.jcis.2016.05.017
- Parekh P., Dey J., Kumar S. et al. Butanol solubilization in aqueous F127 solution: Investigating the enhanced micellar solvation and consequent improvement in gelation characteristics // Colloids and Surfaces B: Biointerfaces. 2014. V. 114. P. 386–391. https://doi.org/10.1016/j.colsurfb.2013.10.030
- Maheswari U., Sridevi Sangeetha K.S., Umamaheswari S. et al. Flavonoids: Therapeutic potential of natural pharmacological agents // International journal of pharmaceutical sciences and research. 2016. V. 7. № 10. P. 3924–3930. https://doi.org/10.13040/IJPSR.0975-8232.7(10).3924-30
- Taraba A., Szymczyk K., Tyszczuk-Rotko K. Surfactant-rutin-alcohol interactions: A multi-techniques analysis // Journal of Molecular Liquids. 2021. V. 328. P. 115447. https://doi.org/10.1016/j.molliq.2021.115447
- Tiwari S., Ma J., Rathod S., Bahadur P. Solubilization of quercetin in P123 micelles: Scattering and NMR studies // Colloids and Surfaces A: Physicochemical and Engineering Aspects. 2021. V. 621. P. 126555. https://doi.org/10.1016/j.colsurfa.2021.126555
- Roik N.V., Belyakova L.A., Dziazko M.O. Solubilization of azo dyes by cetyltrimethylammonium bromide micelles as structure control factor at synthesis of ordered mesoporous silicas // Journal of Molecular Liquids. 2021. V. 328. P. 115451. https://doi.org/10.1016/j.molliq.2021.115451
- Наумова К.А., Дементьева О.В., Зайцева А.В., Рудой В.М. Солюбилизация как способ создания гибридных мицеллярных темплатов для синтеза многофункциональных мезопористых частиц-контейнеров // Коллоид. журн. 2019. Т. 81. № 4. С. 478–486. https://doi.org/10.1134/s0023291219040098
- H.J., Ryu C.Y. Scalable PEO-PPO-PEO triblock copolymer purification from Pluronics through competitive adsorption // Polymer. 2012. V. 53. № 22. P. 5052–5059. http://doi.org/10.1016/j.polymer.2012.09.009
- Ganguly R., Kumar S., Soumya M. et al. Structural and therapeutic properties of salicylic acid-solubilized Pluronic solutions and hydrogels // Soft Matter. Royal Society of Chemistry. 2024. V. 20. № 9. P. 2075–2086. https://doi.org/10.1039/d4sm00079j
- Filippov S.K., Khusnutdinov R., Murmiliuk A. et al. Dynamic light scattering and transmission electron microscopy in drug delivery: A roadmap for correct characterization of nanoparticles and interpretation of results // Materials Horizons. Royal Society of Chemistry. 2023. V. 10. № 12. P. 5354–5370. https://doi.org/10.1039/d3mh00717k
- Jian T., Anastasiadis S.H., Semenov A.N. et al. Dynamics of composition fluctuations in diblock copolymer solutions far from and near to the ordering transition // Macromolecules. 1994. V. 27. № 17. P. 4762–4773. https://doi.org/10.1021/ma00095a017
- Stepanek P., Lodge T.P. Dynamic Light Scattering from Block Copolymer Melts near the Order-Disorder Transition. 1996. V. 29. № 4. P. 1244–1251. https://doi.org/10.1021/ma9509772
- Ricardo N.M.P.S., Ricardo N.M.P.S., Costa F. de M.L.L. et al. The effect of n-, s- and t-butanol on the micellization and gelation of Pluronic P123 in aqueous solution // Journal of Colloid and Interface Science. 2011. V. 353. № 2. P. 482–489. https://doi.org/10.1016/j.jcis.2010.09.061
- Dahanayake R., Dormidontova E.E. Molecular structure and co-solvent distribution in PPO-PEO and Pluronic micelles // Macromolecules. 2022. V. 55. № 23. P. 10439–10449. https://doi.org/10.1021/acs.macromol.2c01206
- Hsu Y.H., Tsui H.W., Lee C.F. et al. Effect of alcohols on the heat of micellization of Pluronic F88 aqueous solutions // Colloid and Polymer Science. 2015. V. 293. P. 3403–3415. https://doi.org/10.1007/s00396-015-3662-0
- Volkova T., Simonova O., Perlovich G. Revisiting the solubility–permeability relationship with hydrophobic drug umifenovir in Pluronic solutions: Impact of pH and co-solvent // Pharmaceutics. 2023. V. 15. № 2. P. 422. https://doi.org/10.3390/pharmaceutics15020422
- Thapa R.K., Cazzador F., Grønlien K.G., Tønnesen H.H. Effect of curcumin and cosolvents on the micellization of Pluronic F127 in aqueous solution // Colloids and Surfaces B: Biointerfaces. 2020. V. 195. P. 111250. https://doi.org/10.1016/j.colsurfb.2020.111250
- Chaghi R., Ménorval L.C., Charnay C., Zajac J. Competitive interactions between components in surfactant-cosurfactant-additive systems // Journal of Colloid and Interface Science. 2010. V. 344. № 2. P. 402–409. https://doi.org/10.1016/j.jcis.2009.12.064
- Taraba A., Szymczyk K. Spectroscopic studies of the quercetin/rutin-nonionic surfactant interactions // Journal of Molecular Liquids. 2022. V. 360. P. 119483 https://doi.org/10.1016/j.molliq.2022.119483
Дополнительные файлы









