NANOEMULSIONS OF POLYOXYETHYLENE(4) LAURYL ETHER WITH SOLUBILIZED CHLORHEXIDINE BASE
- Authors: ZADYMOVA N.M.1, MALASHIKHINA A.A.1
-
Affiliations:
- Department of Chemistry, Moscow State University, Moscow, Russia
- Issue: Vol 85, No 3 (2023)
- Pages: 296-306
- Section: Articles
- Submitted: 16.10.2023
- Published: 01.05.2023
- URL: https://bakhtiniada.ru/0023-2912/article/view/137219
- DOI: https://doi.org/10.31857/S0023291223600074
- EDN: https://elibrary.ru/ZOGCMN
- ID: 137219
Cite item
Full Text
Abstract
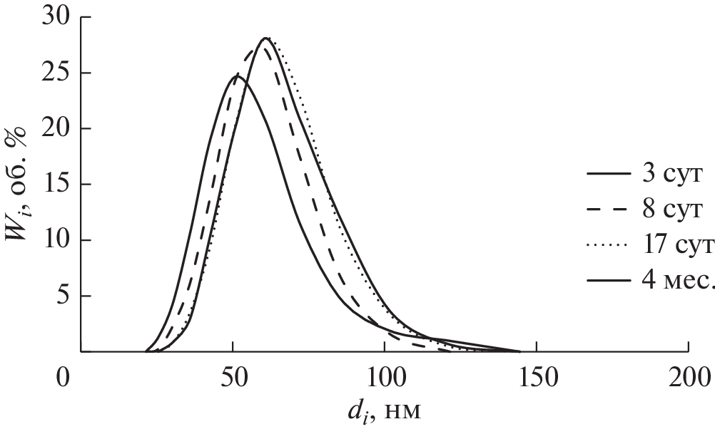
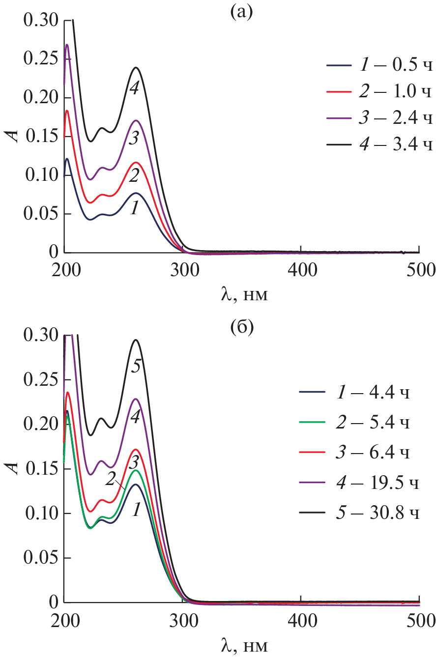
Nanoemulsions (NEs) of simple compositions have been obtained, in which polyoxyethylene(4) lauryl ether (Brij L4, Br-4) plays the roles of a dispersed phase and a stabilizer, while water is a dispersion medium. The following properties of NEs have been studied: particle size distribution; solubilization capacity; and transport properties with respect to the lipophilic biocide, chlorhexidine (CH) base. The long-term aggregative stability of NEs (for several months) and the efficient mass transfer of CH by the NE dispersed phase particles in the aqueous medium have been confirmed. A unique phenomenon of a spontaneous decrease in the sizes of NE droplets upon solubilization of CH has been found, with the particle average diameter decreasing from 52 ± 6 to 19 ± 3 nm. The reason for this phenomenon is the formation of complexes between Br-4 and CH molecules on the surface of the droplets, with the complexes being better soluble in water than Br-4. Brij L4 molecules included into the complexes are transferred from the droplet surface into the dispersion medium, thus leading to the decrease in the droplet sizes. The complexation occurs due to the formation of multiple N⋅⋅⋅H⋅⋅⋅O hydrogen bonds. From 84 to 96% of the biocide solubilized in the NEs is also localized in the polyoxyethylated layer of Br-4 droplets due to H-bonds.
About the authors
N. M. ZADYMOVA
Department of Chemistry, Moscow State University, Moscow, Russia
Email: zadymova@colloid.chem.msu.ru
Россия, 119991, Москва, Ленинские горы, д. 1, строение 3, химический факультет
A. A. MALASHIKHINA
Department of Chemistry, Moscow State University, Moscow, Russia
Author for correspondence.
Email: zadymova@colloid.chem.msu.ru
Россия, 119991, Москва, Ленинские горы, д. 1, строение 3, химический факультет
References
- Gomes C.F., Gomes J.H., da Silva E.F. Bacteriostatic and bactericidal clays: An overview // Environmental Geochemistry and Health. 2020. V. 42. № 11. P. 3507–3527. https://doi.org/10.1007/s10653-020-00628-w
- Najmeh Shams, Mohammad Ali Sahari. Nanoemulsions: Preparation, structure, functional properties and their antimicrobial effects // Applied Food Biotechnology. 2016. V. 3. № 3. P. 138−149. https://doi.org/10.22037/afb.v3i3.11773
- Gupta A., Eral B., Hatton T.A., Doyle P.S. Nanoemulsions: Formation, properties and applications // Soft Matter. 2016. V. 12. № 11. P. 2826−2841. https://doi.org/10.1039/c5sm02958a
- Horstmann Risso N., Ottonelli Stopiglia C. D, Oliveira M.T., Haas S.E., Ramos Maciel T., Reginatto Lazzari N., Kelmer E.L., Pinto Vilela J.A., Beckmann D.V. Chlorhexidine nanoemulsion: A new antiseptic formulation // International Journal of Nanomedicine. 2020. V. 15. P. 6935–6944. https://doi.org/10.2147/IJN.S228280
- Malode G.P., Ande S.N., Chavhan S.A., Bartare S.A., Malode L.L., Manwar J.V., Bakal R.L. A critical reveiw on nanoemulsion: Advantages, techniques and characterization // World Journal of Advanced Research and Reviews. 2021. V. 11. № 03. P. 462–473. https://doi.org/10.30574/wjarr.2021.11.3.0431
- Solans C., Izquierdo P., Nolla J., Azemar N., Garcia-Celma M.J. Nanoemulsions // Current Opinion in Colloid and Interface Science. 2005. V. 10. № 3−4. P. 102−110. https://doi.org/10.1016/j.cocis.2005.06.004
- Королёва М.Ю., Юртов Е.В. Наноэмульсии: свойства, методы получения и перспективные области применения // Успехи химии. 2012. Т. 81. № 1. С. 21−43. https://doi.org/10.1070/RC2012v081n01ABEH004219
- Chuesiang P., Siripatrawan U., Sanguandeekul R., McLandsborough L.A., McClements D.J. Optimization of cinnamon oil nanoemulsions using phase inversion temperature method: Impact of oil phase composition and surfactant concentration // Journal of Colloid and Interface Science. 2018. V. 514. P. 208−216. https://doi.org/10.1016/j.jcis.2017.11.084
- Liang R., Xu S., Shoemaker C.F., Li Y., Zhong F., Huang Q. Physical and antimicrobial properties of peppermint oil nanoemulsions // Journal of Agricultural and Food Chemistry. 2012. V. 60. № 30. P. 7548−7555. https://doi.org/10.1021/jf301129k
- Moradi S., Barati A. Essential oils nanoemulsions: Preparation, characterization and study of antibacterial activity against Escherichia coli // International Journal of Nanoscience and Nanotechnology. 2019. V. 15. № 3. P. 199−210.
- Ghosh V., Mukherjee A., Chandrasekaran N. Ultrasonic emulsification of food-grade nanoemulsion formulation and evaluation of its bactericidal activity // Ultrasonics Sonochemistry. 2012. V. 20. № 1. P. 338−344. https://doi.org/10.1016/j.ultsonch.2012.08.010
- Donsì F., Annunziata M., Vincensi M., Ferrari G. Design of nanoemulsion-based delivery systems of natural antimicrobials: Effect of the emulsifier // Journal of Biotechnology. 2012. V. 159. № 4. P. 342−350. https://doi.org/10.1016/j.jbiotec.2011.07.001
- Wulansari A., Jufri M., Budianti A. Studies on the formulation, physical stability, and in vitro antibacterial activity of tea tree oil (Melaleuca alternifolia) nanoemulsion gel // International Journal of Applied Pharmaceutics. 2017. V. 9. № 1. P. 135−139. https://doi.org/10.22159/ijap.2017.v9s1.73_80
- Sonu K.S., Mann B., Sharma R., Kumar R., Singh R. Physico-chemical and antimicrobial properties of d‑limonene oil nanoemulsion stabilized by whey protein–maltodextrin conjugates // J. Food Sci. Technol. 2018. V. 55. № 7. P. 2749–2757. https://doi.org/10.1007/s13197-018-3198-7
- Fu X., Gao Y., Yan W., Zhang Z., Sarker S., Yin Y., Liu Q., Feng J., Chen J. Preparation of eugenol nanoemulsions for antibacterial activities // RSC Adv. 2022. V. 12. P. 3180–3190. https://doi.org/10.1039/d1ra08184e
- Lallemand F., Daull P., Benita S., Buggage R., Garrigue J.S. Successfully improving ocular drug delivery using the cationic nanoemulsion, Novasorb // Journal of Drug Delivery. 2012. Article ID 604204. P. 1−17. https://doi.org/10.1155/2012/604204
- Lee V.A., Ramalingam K., Rawls H.R., Amaechi T. Anti-cariogenic effect of a cetylpyridinium chloride-containing nanoemulsions // Journal of Dentistry. 2010. V. 38. № 9. P. 742−749. https://doi.org/10.1016/j.jdent.2010.06.001
- Dolgachev V.A., Ciotti S., Eisma R., Grason S., Wilkinson J., Baker J.R., Hemmila M.R. Nanoemulsion therapy for burn wounds is effective as a topical antimicrobial against Gram-negative and Gram-positive bacteria // Journal of Burn Care & Research. 2016. V. 37. № 2. P. e104−e114. https://doi.org/10.1097/BCR.0000000000000217
- Cao Z., Spilker T., Fan Y., Kalikin L.M., Ciotti S.M., LiPuma J.J., Makidon P.E., Wilkinson J.E., Baker J.R., Wang S.H. Nanoemulsion is an effective antimicrobial for methicillin-resistant Staphylococcus aureus in infected wounds // Nanomedicine. 2017. V. 12. № 10. P. 1177–1185. https://doi.org/10.2217/nnm-2017-0025
- Daull P., Lallemand F.J., Garrigue S. Benefits of cetalkonium chloride cationic oil-in-water nanoemulsions for topical ophthalmic drug delivery // Journal of Pharmacy and Pharmacology. 2014. V. 66. № 4. P. 531−541. https://doi.org/10.1111/jphp.12075
- Rao J., McClements D.J. Lemon oil solubilization in mixed surfactant solutions: Rationalizing microemulsion & nanoemulsion formation // Food Hydrocolloids. 2012. V. 26. № 1. P. 268–276. https://doi.org/10.1016/j.foodhyd.2011.06.002
- Zhao Q., Ho C.T., Huang Q. Effect of ubiquinol-10 on citral stability and off-flavor formation in oil-in-water (O/W) nanoemulsions // Journal of Agricultural and Food Chemistry. 2013. V. 61. № 31. P. 7462−7469. https://doi.org/10.1021/jf4017527
- Tian H., Li D., Xu T., Hu J. Citral stabilization and characterization of nanoemulsions stabilized by a mixture of gelatin and Tween 20 in an acidic system // Journal of the Science of Food and Agriculture. 2016. V. 97. № 9. P. 2991−2998. https://doi.org/10.1002/jsfa.8139
- Задымова Н.М., Тао М., Потешнова М.В. Прямые наноэмульсии Твин 85 с инкорпорированным основанием хлоргексидина // Коллоид. журн. 2018. Т. 80. № 2. С. 168−176. https://doi.org/10.7868/S0023291218020052
- Задымова Н.М., Куруленко В.В. Наноэмульсии с инкорпорированным липофильным лекарственным веществом фелодипином и микрогетерогенные полимерные адгезивные матрицы на их основе // Коллоид. журн. 2022. Т. 84. № 1. С. 23−33. https://doi.org/10.31857/S0023291222010141
- Задымова Н.М., Кармашева Н.В., Потешнова М.В., Цикурина Н.Н. Новый метод определения растворимости липофильных неионногенных ПАВ в воде // Коллоид. журн. 2002. Т. 64. № 4. С. 449−454. https://doi.org/10.1023/A:1016803616982]
- https://docs.yandex.ru/docs/view?tm=1677234737&tld=ru&lang=en&name=Zetatrac.pdf&text=принцип %20работы%20Micro.
- Щукин Е.Д., Перцов А.В., Амелина Е.А. Коллоидная химия. М.: Высшая школа, 2007.
- Задымова Н.М., Ямпольская Г.П. Термодинамически устойчивые дисперсные системы // Практикум по коллоидной химии. Ред. Куличихин В.Г., Москва, Вузовский учебник: ИНФРА-М, 2012. Гл. 6. С. 141−172.
- Edwards D.A., Luthy R.G., Liu Z. Solubilization of polycyclic aromatic hydrocarbons in micellar nonionic surfactant solutions // Environ. Sci. Technol. 1991. V. 25. № 1. P. 127−133. https://doi.org/10.1021/ES00013A014
- Задымова Н.М., Цикурина Н.Н., Потешнова М.В. Солюбилизация перфтордекалина в водных растворах додекаоксиэтилированного нонилфенола // Коллоид. журн. 2003. Т. 65. № 3. С. 347–351.
- Москва В.В. Водородная связь в органической химии // Соросовский образовательный журнал. 1999. Т. 5. № 2. С. 58−64.
- Chlorhexidine Base. https://pubchem.ncbi.nlm.nih.gov/ compound/Nolvasan.
- Brij L4. https://pubchem.ncbi.nlm.nih.gov/compound/ 78933#section=Chemical-and-Physical-Properties. Accessed Jan. 23, 2023.
- Musial W., Voncina B., Pluta J., Kokol V. The study of release of chlorhexidine from preparations with modified thermosensitive poly-N-isopropylacrylamide microspheres // The Scientific World Journal. 2012. Article ID 243707. https://doi.org/10.1100/2012/243707
Supplementary files
















