ОПТИМАЛЬНОЕ ПОДАВЛЕНИЕ КОЛЕБАНИЙ В ЗАДАЧЕ РАСКРУЧИВАНИЯ ДВУХМАССОВОЙ СИСТЕМЫ
- Авторы: Васенин С.А.1, Решмин С.А.1
-
Учреждения:
- ИПМех РАН
- Выпуск: № 6 (2023)
- Страницы: 67-80
- Раздел: ОПТИМАЛЬНОЕ УПРАВЛЕНИЕ
- URL: https://bakhtiniada.ru/0002-3388/article/view/148133
- DOI: https://doi.org/10.31857/S0002338823060112
- EDN: https://elibrary.ru/FNEJMB
- ID: 148133
Цитировать
Полный текст
Аннотация
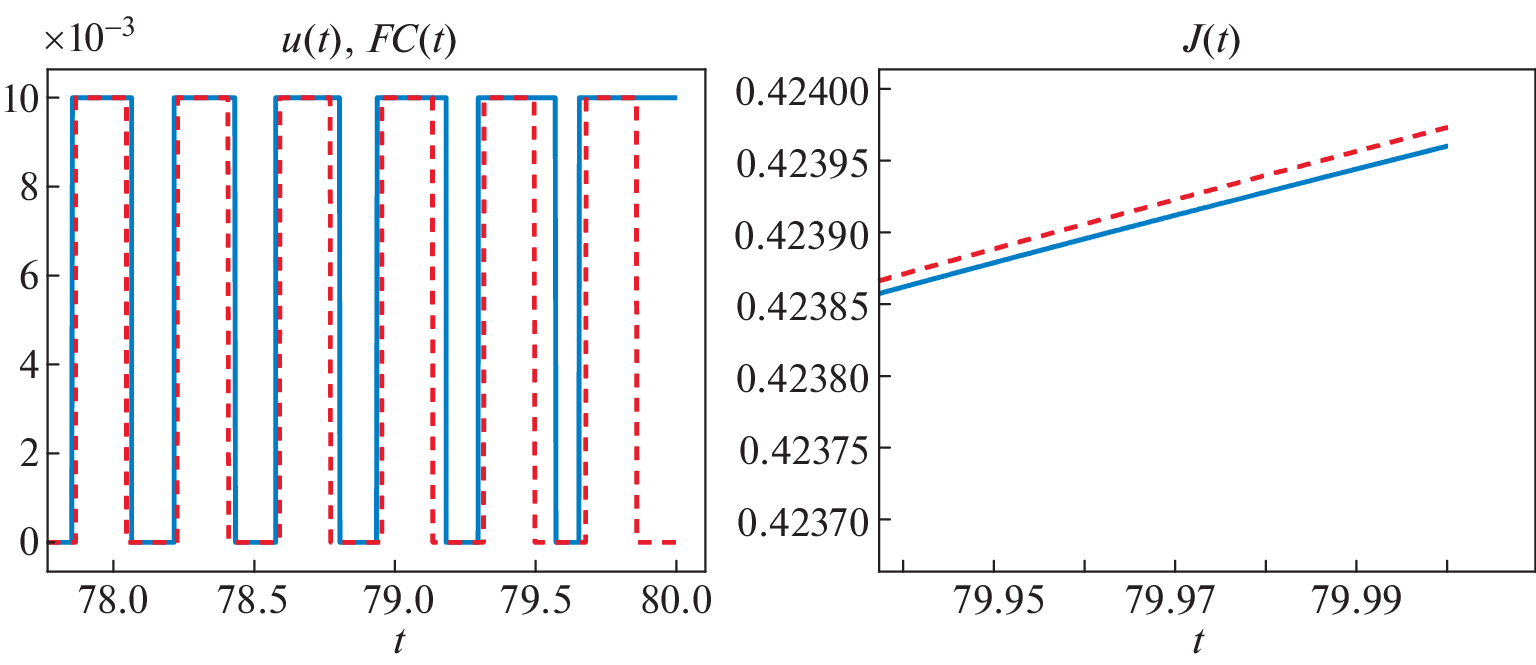
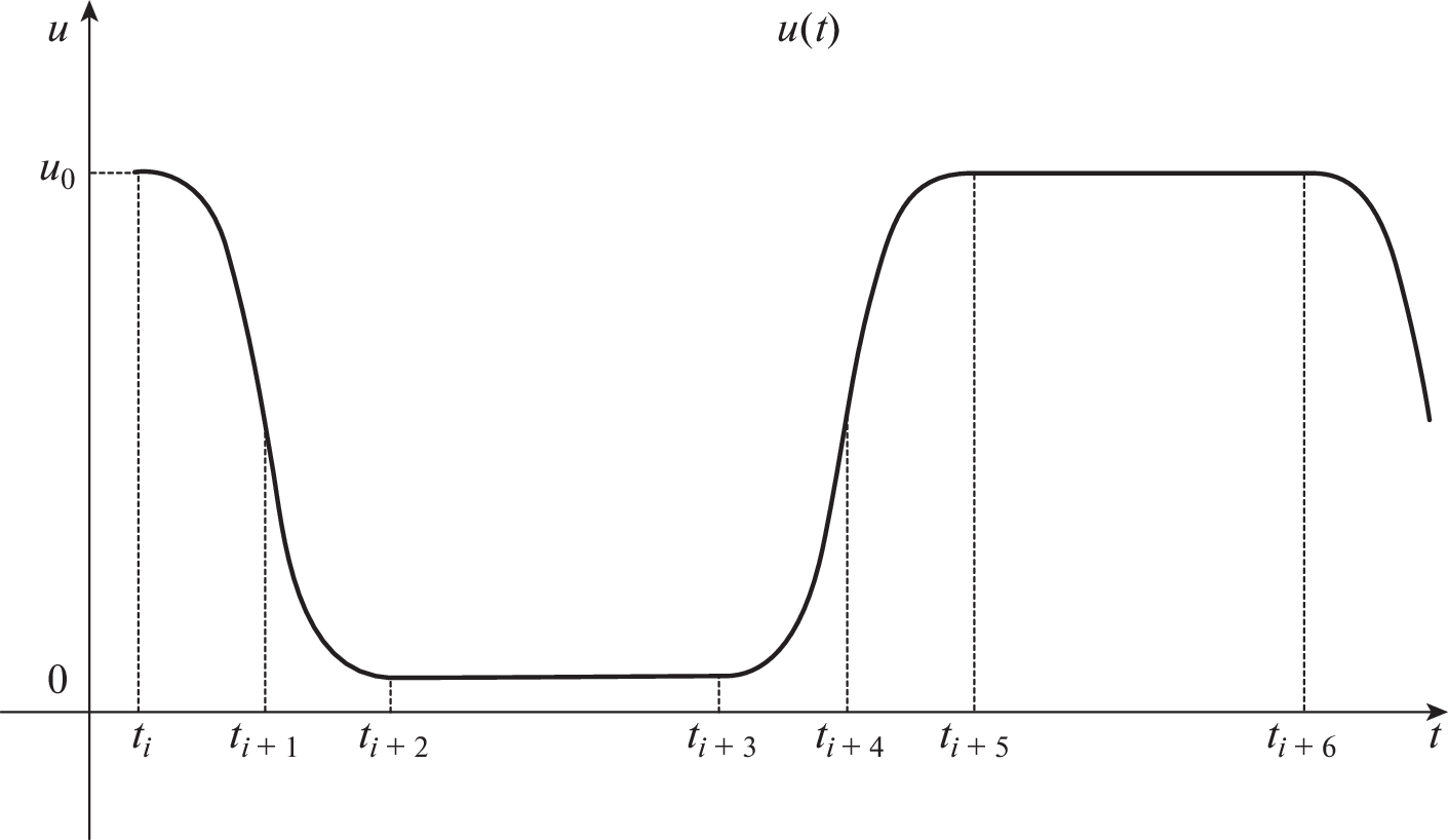
Рассматривается управляемая механическая система многих тел, состоящая из несущего диска, который вращается вокруг своей оси, закрепленной в пространстве, и несомого диска, присоединенного к нему при помощи невесомых упругих элементов. Представленные тела находятся в одной плоскости. Исследуется задача о минимизации амплитуды радиальных колебаний. Для решения данной задачи на достаточно большом интервале используются два численных метода: метод последовательных приближений в пространстве управлений и метод Ньютона. Изучены свойства фазовых траекторий системы в зависимости от начальных состояний дисков. Обнаружены различные режимы раскрутки дисков. С помощью процедуры сглаживания для оптимального управления построено непрерывное управление, уменьшающее амплитуду радиальных колебаний.
Об авторах
С. А. Васенин
ИПМех РАН
Email: stepan_vasenin@mail.ru
Россия, Москва
С. А. Решмин
ИПМех РАН
Автор, ответственный за переписку.
Email: stepan_vasenin@mail.ru
Россия, Москва
Список литературы
- Крылов И.А., Черноусько Ф.Л. О методе последовательных приближений для решения задач оптимального управления // ЖВМиМФ. 1962. Т. 2. № 6. С. 1132–1139.
- Понтрягин Л.С., Болтянский В.Г., Гамкрелидзе Р.В., Мищенко Е.Ф. Математическая теория оптимальных процессов. М.: Наука, 1983.
- Решмин С.А., Васенин С.А. Применение метода последовательных приближений при решении краевых задач принципа максимума на примере задачи управления раскручиванием двухмассовой системы // Modern European Researches. 2022. № 3 (Т. 1). С. 186–196.
- Дивеев А.И., Константинов С.В. Исследование практической сходимости эволюционных алгоритмов оптимального программного управления колесным роботом // Изв. РАН. ТиСУ. 2018. № 4. С. 80–106.
- Garcia Almuzara J.L., Flügge-Lotz I. Minimum Time Control of a Nonlinear System // J. Differen. Equations. 1968. V. 4. № 1. P. 12–39.
- Ovseevich A.I. Complexity of the Minimum-Time Damping of a Physical Pendulum // SIAM J. on Control and Optimization. 2014. V. 52. № 1. P. 82–96.
- Решмин С.А. Бифуркация в задаче быстродействия для нелинейной системы второго порядка // ПММ. 2009. Т. 73. Вып. 4. С. 562–572.
- Решмин С.А. Пороговая абсолютная величина релейного управления при наискорейшем приведении спутника в желаемое угловое положение // Изв. РАН. ТиСУ. 2018. № 5. С. 30–41.
- Галяев А.А., Лысенко П.В. Оптимальное по энергии управление гармоническим осциллятором // АиТ. 2019. № 1. С. 21–37.
- Лавровский Э.К. О быстродействии в задаче управления вертикальным положением маятника с помощью перемещения его основания // Изв. РАН. ТиСУ. 2021. № 1. С. 42–51.
- Каюмов О.Р. Оптимальное по быстродействию перемещение тележки с маятником // Изв. РАН. ТиСУ. 2021. № 1. С. 30–41.
- Решмин С.А. Применение метода Ньютона при решении краевых задач принципа максимума на примере задачи об оптимальном раскручивании двухмассовой системы // Modern European Researches. 2021. № 2 (Т. 1). С. 114–122.
- Каюмов О.Р. Оптимальный по быстродействию поворот пружинного маятника // Изв. РАН. ТиСУ. 2023. № 5. C. 43–56.
- Розенблат Г.М. Об оптимальном повороте твердого тела при помощи внутренних сил // Доклады Российской академии наук. Математика, информатика, процессы управления. 2022. Т. 505. № 1. С. 92–99.
- Черноусько Ф.Л. Оптимальное управление движением двухмассовой системы // ДАН. 2018. Т. 480. № 5. С. 528–532.
- Черноусько Ф.Л., Шматков А.М. Оптимальное управление поворотом твердого тела при помощи внутренней массы // Изв. РАН. ТиСУ. 2019. № 3. С. 10–23.
- Наумов Н.Ю., Черноусько Ф.Л. Переориентация твердого тела, управляемого посредством подвижной внутренней массы // Изв. РАН. ТиСУ. 2019. № 2. С. 98–105.
- Привалов Е.А., Жбанов Ю.К. Стержневая конструкция упругого подвеса инертной массы // Изв. РАН. МТТ. 2018. № 5. С. 19–28.
- Журавлев В.Ф. Двумерный осциллятор Ван дер Поля с внешним управлением // Нелинейная динамика. 2016. Т. 12. № 2. С. 211–222.
- Журавлев В.Ф. Пространственный осциллятор Ван-дер-Поля. Технические приложения // Изв. РАН. МТТ. 2020. № 1. С. 158–164.
- Овсеевич А.И., Федоров А.К. Управление в форме синтеза для успокоения системы осцилляторов // АиТ. 2015. № 11. С. 3–17.
- Ананьевский И.М., Овсеевич А.И. Управляемое перемещение линейной цепочки осцилляторов // Изв. РАН. ТиСУ. 2021. Т. 5. № 5. С. 18–26.
- Воеводин П.С., Заболотнов Ю.М. О стабилизации движения электродинамической тросовой системы на околоземной орбите // Изв. РАН. МТТ. 2019. № 4. С. 48–62.
- Беллман Р. Динамическое программирование. М.: Изд-во иностр. лит., 1960.
- Решмин С.А. Качественный анализ силы тяги при вращении ведущего колеса с невесомой шиной // Тр. Математического ин-та им. В.А. Стеклова. 2021. Т. 315. С. 211–221.
- Розоноэр Л.И. Принцип максимума Л.С. Понтрягина в теории оптимальных систем. I // АиТ. 1959. Т. 20. Вып. 10. С. 1320–1334.
Дополнительные файлы










