Стабилизация полярного состояния KNO3 в композитах (KNO3)1–x / (CeO2)x
- Авторы: Павлов А.В.1, Стукова Е.В.1, Барышников С.В.2
-
Учреждения:
- Амурский государственный университет
- Благовещенский государственный педагогический университет
- Выпуск: Том 60, № 7 (2024)
- Страницы: 876-881
- Раздел: Статьи
- URL: https://bakhtiniada.ru/0002-337X/article/view/288167
- DOI: https://doi.org/10.31857/S0002337X24070118
- EDN: https://elibrary.ru/LQSKTY
- ID: 288167
Цитировать
Полный текст
Аннотация
Приводятся результаты диэлектрических исследований сегнетоэлектрических композитов (KNO3)1–x / (CeO2)x с целью выявления влияния оксида церия на стабильность полярного состояния нитрата калия. Показано, что увеличение доли CeO2 до 0.25 < x < 0.35 в составе композита (KNO3)1–x / (CeO2)x приводит к временной стабилизации сегнетоэлектрического состояния. Основным механизмом взаимодействия оксидов металлов с нитратами является образование двойного электрического слоя на границе раздела частиц за счет различных энергий адсорбции отрицательных и положительных ионов.
Ключевые слова
Полный текст
ВВЕДЕНИЕ
Диэлектрические кристаллические материалы, у которых возникает в установленном интервале температур самопроизвольная спонтанная поляризация, называются сегнетоэлектриками. Для сегнетоэлектриков поляризация изменяется под влиянием различных факторов: температуры, деформации, приложенного электрического поля. Благодаря своим физическим свойствам сегнетоэлектрики широко применяются в различных областях электроники как конденсаторы и ячейки памяти, преобразователи и исполнительные механизмы. Сегнетоэлектрические материалы используются для создания элементов энергонезависимой памяти (Ferroelectric Random Access Memory – FRAM) [1].
Нитрат калия (KNO3) известен как сегнетоэлектрик, обладающий прямоугольной петлей гистерезиса. Однако спонтанная поляризация у нитрата калия существует только в температурном интервале 397–373 К и обнаруживается только в процессе охлаждения. Это обстоятельство делает невозможным его применение в устройствах памяти. Таким образом, возникает актуальная задача поиска таких условий, благодаря которым полярное состояние в KNO3 останется стабильным до температуры порядка 280 К. В ряде работ [2–5] сообщалось о расширении температурной области существования сегнетоэлектрического состояния в нитрате калия методом создания композитных материалов и твердых растворов. Так, в [2] описывается расширение температурного интервала существования сегнетоэлектрического состояния для композитов на основе нитрата калия с внедренными частицами титаната бария, расширение области существования сегнетоэлектрического состояния описывается также в [3] для композитов (KNO3)1−x/(KNbO3)x. В то же время в [6] обнаружено, что добавление нитрата цезия к нитрату калия приводит к сужению температурного интервала сегнетоэлектрического состояния. В [7] были исследованы диэлектрические свойства композитов на основе нитрата калия с внедрением частиц нитрата рубидия и приведены температурные зависимости амплитуды третьей гармоники, диэлектрической проницаемости и сигнала дифференциального термического анализа для разных составов. Обнаружено, что при увеличении доли RbNO3 в композите возникают дополнительные фазовые переходы, а также наблюдается расширение области существования сегнетоэлектрического состояния в нитрате калия. Результаты исследований температурных зависимостей диэлектрической проницаемости и коэффициента третьей гармоники сегнетоэлектрического композита [KNO3]1–x / [Ba(NO3)2]x с x от 0.02 до 0.20 об. долей в сравнении с чистым KNO3 представлены в [8]. Показано, что добавление Ba(NO3)2 приводит к расширению сегнетоэлектрической фазы нитрата калия при охлаждении до комнатной температуры. Сегнетоэлектрическая фаза нитрата калия в (KNO3)0.98/(Ba(NO3)2)0.02 может возникать не только при охлаждении, но и при нагревании.
Для нанокомпозита на основе пористой керамики титаната бария BaTiO3 с внедренным нитратом калия KNO3 обнаружена стабилизация сегнетоэлектрического состояния при комнатной температуре [9]. Стабилизация полярной фазы KNO3 объясняется наличием значительных электрических полей в порах керамики.
Цель настоящей работы – диэлектрические исследования сегнетоэлектрических композитов (KNO3)1–x / (CeO2)x для выявления влияния оксида церия на стабильность полярного состояния нитрата калия.
ЭКСПЕРИМЕНТАЛЬНАЯ ЧАСТЬ
Кристалл нитрата калия при комнатной температуре обладает ромбической структурой, которую принято обозначать фаза II [10]. При нагревании KNO3 около Т1 = 401К происходит фазовый переход в фазу I с тригональной структурой. Если кристалл был прогрет выше Т = 450 K, то при охлаждении в районе T2 = 397 К он переходит не в фазу II, а в промежуточную фазу III, которая является сегнетоэлектрической с тригональной симметрией и спонтанной поляризацией вдоль оси c. И лишь при температуре Т3 происходит возврат в фазу II. Температурный интервал существования сегнетоэлектрического состояния составляет Т2 – Т3 ≈ 24 К. При дальнейших циклах нагрев–охлаждение этот интервал может расширяться за счет понижения температуры перехода между фазами III и II на несколько градусов [11]. Величина спонтанной поляризации при температуре 393К составляет 8–10 мкКл/см2 [12].
Оксид церия CeO2 имеет кубическую решетку с относительно большим межатомным расстоянием (a = 5.411 А), что облегчает кислородную диффузию в его кристаллической структуре, является диэлектриком с запрещенной зоной 3–3.6 эВ и диэлектрической проницаемостью ε′ = 23–28 [13]. При высоких температурах за счет вакансий по кислороду оксид церия обладает ионной проводимостью.
Для создания композитов (KNO3)1–x / (CeO2)x использовались химически чистые KNO3 и CeO2 (x – об. доли). В настоящей работе использовались порошки нитрата калия и оксида церия со средним размером частиц 1–3 мкм. Смеси порошков KNO3 и CeO2, взятые в необходимых пропорциях, тщательно перемешивались и использовались для получения композитов. Образцы в форме цилиндра с диаметром 10 и высотой 1.5 мм получали прессованием при давлении 800 МПа.
Комплексная диэлектрическая проницаемость измерялась при помощи цифрового измерителя иммитанса Е7-25, работающего в частотном диапазоне 20–106 Гц с рабочим напряжением 0.7 В. На образцы композита наносилась в качестве электродов In–Ga-паста. Измерение температуры проводилось с точностью 0.1 К при помощи электронного термометра ТС-6621, оснащенного хромель-алюмелевой термопарой. Исследования проводились в интервале от комнатной температуры до 450 К в режиме “нагрев с последующим охлаждением” со скоростью 1К/мин. Наличие сегнетоэлектрического состояния в нитрате калия регистрировалось методом нелинейной диэлектрической спектроскопии при подаче на образец электрического поля с частотой 2 кГц и напряженностью ~30 В/мм. Сигнал снимался с резистора, включенного последовательно с образцом, и подавался на цифровой анализатор спектра. В процессе эксперимента записывались значения амплитуды третьей гармоники (γ3ω = U3ω / Uω), которая пропорциональна величине спонтанной поляризации [14, 15].
РЕЗУЛЬТАТЫ ЭКСПЕРИМЕНТА
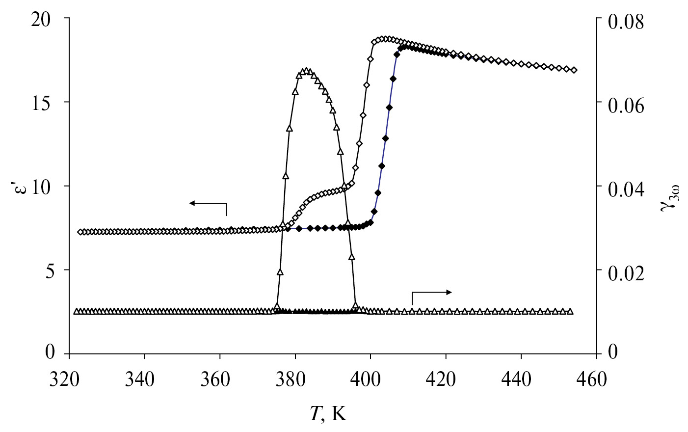
Как показали исследования зависимостей диэлектрической проницаемости εʹ и коэффициента третьей гармоники (γ3ω = U3ω / Uω) от температуры сегнетоэлектрическая фаза в нитрате калия возникает в процессе охлаждении при температуре 395 К и существует вплоть до 377 К (рис. 1).
Рис. 1. Температурные зависимости диэлектрической проницаемости εʹ (T) и коэффициента третьей гармоники γ3ω (T) KNO3 (темные точки – нагрев, светлые – охлаждение).
Для композитов (KNO3)1–x / (CeO2)x с разным содержанием CeO2 были исследованы температурные зависимости диэлектрической проницаемости и коэффициента третьей гармоники. Зависимости εʹ (x) и g3ω (x) в полярной фазе (при температуре 388 К) показаны на рис. 2. Из графиков следует, что увеличение доли оксида церия в композите приводит к увеличению эффективной диэлектрической проницаемости и расширению температурного интервала, в границах которого наблюдается полярное состояние KNO3 в композите, по сравнению с чистым нитратом калия (см. рис. 1).
Рис. 2. Зависимости диэлектрической проницаемости εʹ и коэффициента третьей гармоники γ3ω в полярной фазе от состава (KNO3)1–x / (CeO2)x при температуре 388 К.
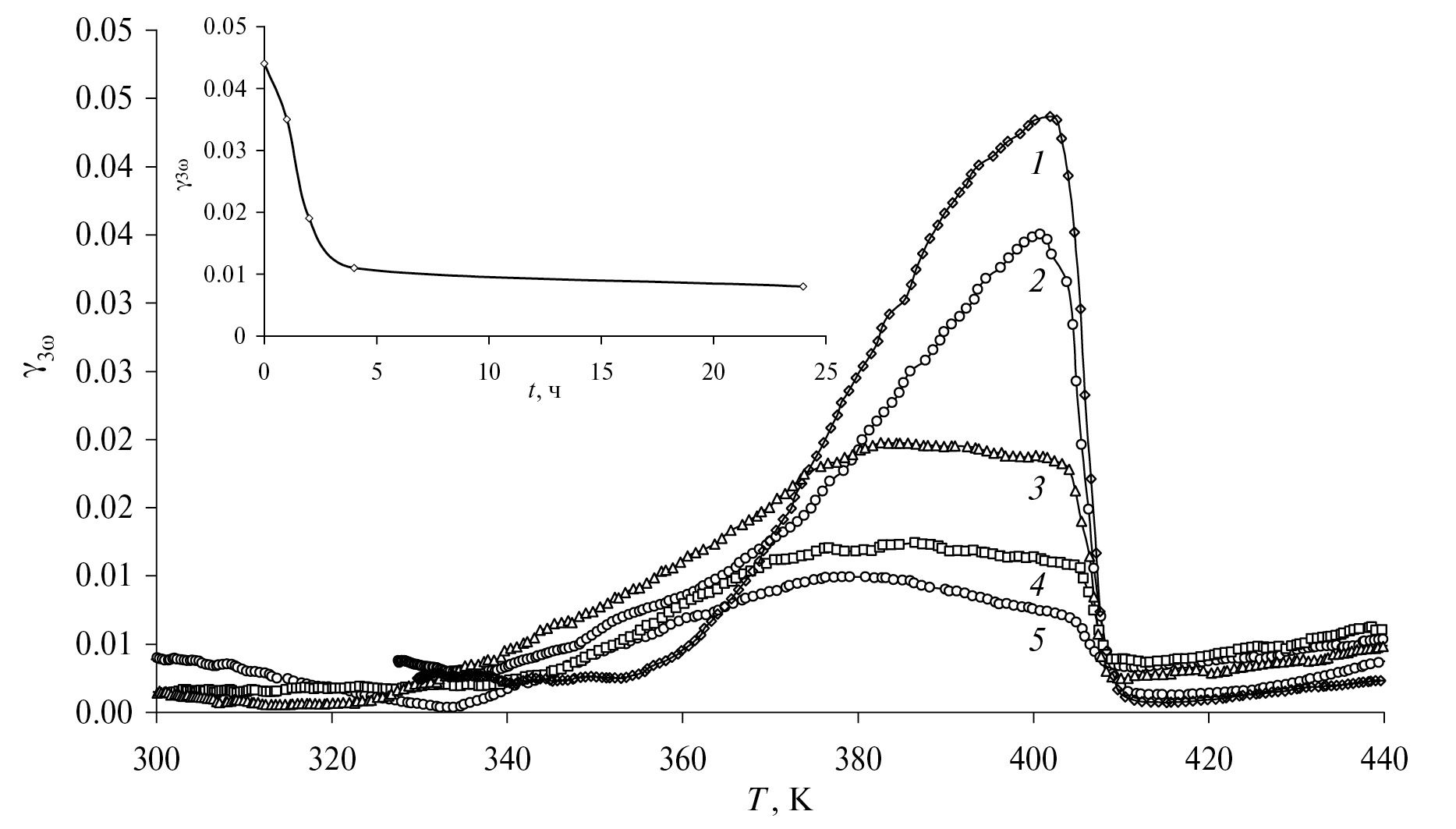
Из графика следует, что зависимости εʹ (x) и g3ω (x) имеют максимумы в районе x ≈ 0.03–0.05. При x > 0.45 коэффициент третьей гармоники уменьшается до значений g3ω < 0.01, что может свидетельствовать о значительном уменьшении спонтанной поляризации [15]. В интервале 0.25 < x < 0.35 возникновение полярного состояния наблюдается как при нагревании, так и при охлаждении образца (рис. 3). Для образца с x ≈ 0.03 сегнетоэлектрическое состояния при нагреве сохраняется в течение суток после последнего прогрева. На вставке к рис. 3 показана зависимость максимальных значений амплитуды третьей гармоники при нагревании от времени выдержки. Для образца с x ≥ 0.4 сегнетоэлектрическое состояние наблюдается только при охлаждении.
Рис. 3. Температурные зависимости коэффициента третьей гармоники γ3ω (T) для (KNO3)0.7 / (CeO2)0.3 при нагреве: 1 – сразу после охлаждения, 2 – через 1 ч, 3 – через 2 ч, 4 – через 4 ч, 5 – через 24 ч; на вставке – временная зависимость максимальных значений γ3ω.
ОБСУЖДЕНИЕ РЕЗУЛЬТАТОВ
Основные результаты исследования диэлектрических свойств композитов (KNO3)1–x / (CeO2)x сводятся к следующему. Увеличение доли CeO2 до 0.25 < x < 0.35 в составе композита приводит к стабилизации сегнетоэлектрического состояния на срок до 24 ч. Как показано в [5, 6], основной механизм взаимодействия оксидов металлов с нитратами (KNO3, CsNO3, RbNO3) заключается в образовании двойного электрического слоя на границе раздела частиц за счет различных энергий адсорбции отрицательных и положительных ионов. Величина возникающей на границах частиц композита разности потенциалов Δφ может достигать десятков милливольт. При Δφ = 10–30 мВ на частицу размером 3 мкм действует поле порядка 103 В/см, что может обеспечить устойчивость сегнетоэлектрического состояния в частицах нитрата калия. Неравномерное распределение частиц в композите и изменение доли CeO2 может привести к образованию двух фаз (II и III) между температурами T2 и T3, соотношение между которыми будет изменяться, что приведет к уменьшению эффективной спонтанной поляризации. В частности, сосуществование фаз II и III для нитрата калия, внедренного в пористые пленки Al2O3 и углеродные нанотрубки, наблюдалось в [16, 17].
ЗАКЛЮЧЕНИЕ
Исследование влияния содержания оксида церия на температурные зависимости диэлектрических свойств композитов (KNO3)1–x / (CeO2)x показывает, что увеличение доли CeO2 приводит к расширению области существования сегнетоэлектрической фазы нитрата калия, а также к возникновению полярной фазы при нагревании и уменьшению коэффициента третьей гармоники. Зависимость коэффициента третьей гармоники от содержания оксида церия носит немонотонный характер, достигая пика при x = 0.05, что, вероятно, связано с заполнением промежутков между частицами KNO3 частицами CeO2.
КОНФЛИКТ ИНТЕРЕСОВ
Авторы заявляют, что у них нет конфликта интересов.
Об авторах
А. В. Павлов
Амурский государственный университет
Email: lenast@bk.ru
Россия, Игнатьевское ш., 21, Благовещенск, Амурская обл., 675028
Е. В. Стукова
Амурский государственный университет
Автор, ответственный за переписку.
Email: lenast@bk.ru
Россия, Игнатьевское ш., 21, Благовещенск, Амурская обл., 675028
С. В. Барышников
Благовещенский государственный педагогический университет
Email: lenast@bk.ru
Россия, ул. Ленина, 104, Благовещенск, Амурская обл., 675004
Список литературы
- Scott J.F. Ferroelectric Memories // Springer Series in Advanced Microelectronics. 2000. V. 3. 248 p. https://doi.org/10.1007/978-3-662-04307-3
- Стукова Е.В., Барышников С.В. Стабилизация сегнетоэлектрической фазы в композитах (KNO3)1–x – (BaTiO3)x // Перспективные материалы. 2011. № 2. С. 28–33.
- Shimada S., Aoki T. Stabilization of the Ferroelectric γ-Phase of KNO3 by Doping with Na+, Determined by the Acoustic Emission Method // Chem. Lett. 1996. V. 25. № 5. P. 393–394. https://doi.org/10.1246/cl.1996.393
- Liang C.C. Conduction Characteristics of the Lithium Iodide‐Aluminum Oxide Solid Electrolytes // J. Electrochem. Soc. 1973. V. 120. № 10. P. 1289–1292. https://doi.org/10.1149/1.240324
- Uvarov N.F., Hairetdinov E.F., Skobelev I.V. Composite Solid Electrolytes MeNO3-Al2O3 (Me = Li, Na, K) // Solid State Ionics. 1996. V. 86–88. P. 577–580. https://doi.org/10.1016/0167-2738(96)00208-1
- Uvarov N.F., Vaněk P. Stabilization of New Phases in Ion-Conducting Nanocomposites // J. Mater. Synth. Process. 2000. V. 8. P. 319–326. https://doi.org/10.1023/A:1011346528527
- Milinskiy A.Yu., Baryshnikov S.V., Zeeva A.A. Dielectric Properties of Ferroelectric Composite (KNO3)(1–x)/(RbNO3)x // St. Petersburg State Polytechn. Univ. J. Phys. Math. 2023. V. 16. № 1.1. P. 38–42. https://doi.org/10.18721/JPM.161.106
- Барышников С.В., Милинский А.Ю., Стукова Е.В., Зеева А.А. Стабилизация сегнетоэлектрической фазы нитрата калия в композите [KNO3]1–x/[Ba(NO3)2]x // Изв. вузов. Физика. 2023. Т. 66. № 12. С. 22–29. https://doi.org/10.17223/00213411/66/12/3
- Барышников С.В., Милинский А.Ю. Стабилизация полярной фазы нитрата калия, внедренного в нанопористую матрицу титаната бария // Физика твердого тела. 2024. Т.66. № 5. С. 747–751. https://doi.org/10.61011/FTT.2024.05.58080.98
- Chen A., Chernow F. Nature of Ferroelectricity in KNО3 // Phys. Rev. 1967. V. 154. № 2. P. 493–505. https://doi.org/10.1103/PhysRev.154.493.
- Nimmo J.K., Lucas B.W. The Crystal Structures of γ- and β-KNO3 and the α←γ←β Phase Transformations // Acta Crystallogr., Sect. B. 1976. V. 32. № 7. P. 1968–1971. https://doi.org/10.1107/S0567740876006894
- Deshpande V.V., Karkhanavala M.D., Rao U.R.K. Phase Transitions in Potassium Nitrate // J. Therm. Anal. Calorim. 1974. V. 6. P. 613–621. https://doi.org/10.1007/BF01911781
- Balakrishnan G., Panda A.K., Raghavan C.M., Singh A., Prabhakar M.N, Mohandas E., Kuppusami P., Jung il Song. Microstructure, Optical and Dielectric Properties of Cerium Oxide Thin Films Prepared by Pulsed Laser Deposition // J. Mater. Sci. Mater. Electron. 2019. V. 30. P. 16548–16553. https://doi.org/10.1007/s10854-019-02031-3
- Ikeda S., Kominami H., Koyama K., Wada Ya. Nonlinear Dielectric Constant and Ferroelectric-to-Paraelectric Phase Transition in Copolymers of Vinylidene Fluoride and Trifluoroethylene // J. Appl. Phys. 1987. V. 62. № 8. P. 3339–3342. https://doi.org/10.1063/1.339294
- Miga S., Dec J., Kleemann W. Computer-controlled Susceptometer for Investigating the Linear and Nonlinear Dielectric Response // Rev. Sci. Instrum. 2007. V. 78. № 3. P. 033902. https://doi.org/10.1063/1.2712792
- Alekseeva O.A., Naberezhnov A.A., Stukova E.V., Franz A., Baryshnikov S.V. Temperature Range Broadening of the Ferroelectric Phase in KNO3 Nanoparticles Embedded in the Pores of the Nanoporous Al2O3 Matrix // Ferroelectrics. 2021. V. 574. № 1. P. 8–15. https://doi.org/10.1080/00150193.2021.1888043
- Milinskiy A.Yu., Baryshnikov S.V., Charnaya E.V., Chernechkin I.A., Uskova N.I. Coexistence of Ferroelectric and Paraelectric KNO3 Phases in Carbon Nanotubes // Ferroelectrics. 2023. V. 604. № 1. P. 14–21. https://doi.org/10.1080/00150193.2023.2168975
Дополнительные файлы






