Molecular and Elemental Compositions of Impurities in Extrapure Selenium
- Авторлар: Sozin A.Y.1, Skripachev I.V.2, Snopatin G.E.2, Evdokimov I.I.1, Churbanov M.F.1
-
Мекемелер:
- Devyatykh Institute of Chemistry of High-Purity Substances, Russian Academy of Sciences
- G.G. Devyatykh Institute of Chemistry of High-Purity Substances, Russian Academy of Sciences
- Шығарылым: Том 59, № 5 (2023)
- Беттер: 534-539
- Бөлім: Articles
- URL: https://bakhtiniada.ru/0002-337X/article/view/140165
- DOI: https://doi.org/10.31857/S0002337X23050172
- EDN: https://elibrary.ru/KCDWXA
- ID: 140165
Дәйексөз келтіру
Толық мәтін
Аннотация
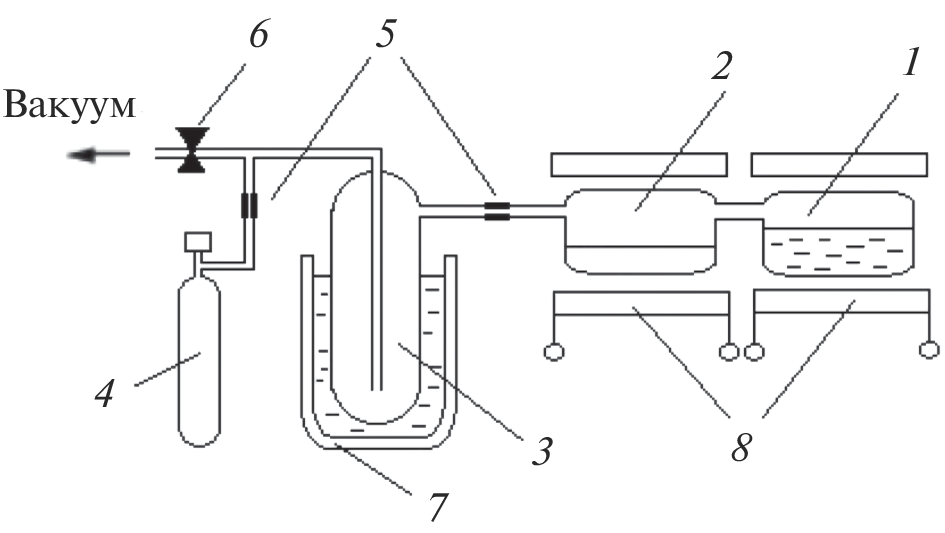
This paper presents additional data on carbon, hydrogen, and oxygen impurities in molecular form in extrapure selenium. Using gas chromatography/mass spectrometry analysis, selenium has been shown for the first time to contain hydrocarbons, halogenated hydrocarbons, and sulfur- and selenium-containing substances. Forty-six elemental impurities were detected in selenium by inductively coupled plasma atomic emission spectroscopy. Data on carbon-, oxygen-, and hydrogen-containing molecular impurities in commercially available extrapure selenium will be helpful in choosing and optimizing methods for its further ultrapurification.
Авторлар туралы
A. Sozin
Devyatykh Institute of Chemistry of High-Purity Substances, Russian Academy of Sciences
Email: Sozin@ihps-nnov.ru
603950, Nizhny Novgorod, Russia
I. Skripachev
G.G. Devyatykh Institute of Chemistry of High-Purity Substances, Russian Academy of Sciences
Email: skripachev@ihps-nnov.ru
Russian, 603951, Nizhny Novgorod
G. Snopatin
G.G. Devyatykh Institute of Chemistry of High-Purity Substances, Russian Academy of Sciences
Email: skripachev@ihps-nnov.ru
Russian, 603951, Nizhny
I. Evdokimov
Devyatykh Institute of Chemistry of High-Purity Substances, Russian Academy of Sciences
Email: iliya@citydom.ru
603951, Nizhny Novgorod, Russia
M. Churbanov
Devyatykh Institute of Chemistry of High-Purity Substances, Russian Academy of Sciences
Хат алмасуға жауапты Автор.
Email: lazukina@ihps-nnov.ru
603137, Nizhny Novgorod, Russia
Әдебиет тізімі
- Чурбанов М.Ф., Скрипачев И.В. Получение высокочистого селена // Высокочистые вещества. 1988. № 5. С. 20–31.
- Калинкин И.П., Алесковский В.Б., Симашкевич А.В. Эпитаксиальные пленки соединений А2В6. Л.: Изд-во ЛГУ, 1978. 311 с.
- Savage J.A. Optical Properties of Chalcogenide Glasses // J. Non-Cryst. Solids. 1982. V. 47. № 1. P. 101–115. https://doi.org/10.1016/0022-3093(82)90349-0
- Гаврищук Е.М. Поликристаллический селенид цинка для инфракрасной оптики // Неорган. материалы. 2003. Т. 9. № 9. С. 1031–1049.
- Карась В.Р. Перспективные материалы для окон СО2-лазеров. Обзорная информация. Серия: Монокристаллы. М.: НИИТЭХИМ и ВНИИ Монокристаллов, 1978. 53 с.
- Кеткова Л.А., Курилин А.В., Чурбанов М.Ф. Определение гетерофазных включений в стеклах, не прозрачных в видимом диапазоне // Неорган. материалы. 2008. Т. 44. № 7. С. 878–882.
- Churbanov M.F., Skripachev I.V., Snopatin G.E., Ketkova L.A., Plotnichenko V.G. The Problems of Optical Loss Reduction in Arsenic Sulfide Glass IR Fibers // Opt. Mater. 2020. V. 102. P. 109812. https://doi.org/10.1016/j.optmat.2020.109812
- Дианов Е.М., Петров М.Ю., Плотниченко В.Г., Сысоев В.Г. Оценка минимальных оптических потерь в халькогенидных стеклах // Квантовая электроника. 1982. Т. 9. №. 4. С. 798–800.
- Селен элементарный марки осч 22-4, осч 17-4б осч 17-3. Технические условия ТУ 6-09-2521-77. Срок введения с 01.01.78.
- Созин А.Ю., Чурбанов М.Ф., Чернова О.Ю., Сорочкина Т.Г., Снопатин Н.Е., Скрипачев И.В., Лесина Ю.А. Идентификация примесей в селене особой чистоты с использованием метода хромато-масс-спектрометрии // Аналитика и контроль. 2019. Т. 23. № 1. С. 96–102.https://doi.org/10.15826/analitika.2019.23.1.007
- Wood D.L., Tauc J. Weak Absorption Tails in Amorphous Semiconductors // Phys. Rev. B. 1972. V. 5. № 3. P. 3144–3155. https://doi.org/10.1103/PhysRevB.5.3144
- Ketkova L.A., Churbanov M.F. Heterophase Inclusions as a Source of Non-Selective Optical Losses in Highpurity Chalcogenide and Tellurite Glasses for Fiber Optics // J. Non-Cryst. Solids. 2018. V. 480. P. 18–22. https://doi.org/10.1016/j.jnoncrysol.2017.09.018
- Березкин В.Г., Королев А.А., Хотимский В.С. Политриметилсилилпропин как адсорбент в капиллярной газовой хроматографии // Докл. АН. 2000. Т. 370. № 2. С. 200–204.
- Крылов В.А., Созин А.Ю., Зорин В.А., Березкин В.Г., Крылов А.В. Хроматомасс-спектрометрическое определение примесей в изотопно-обогащенном силане высокой чистоты // Масс-спектрометрия. 2008. Т. 5. № 4. С. 225–233.
- Fitch W.L., Sauter A.D. Calculation of Relative Electron Impact Total Ionization Cross Sections for Organic Molecules // Anal. Chem. 1983. V. 55. P. 832–835. https://doi.org/10.1021/ac00257a006
- Евдокимов И.И., Пименов В.Г., Фадеева Д.А. АЭС-ИСП анализ высокочистого мышьяка // Аналитика и контроль. 2015. Т. 19. № 1. С. 13–20. https://doi.org/10.15826/analitika.2015.19.1.006
- Вечканов Н.Н., Гурьянов А.Н., Девятых Г.Г., Дианов Е.М., Плотниченко В.Г., Скрипачев И.В., Сысоев В.К., Чурбанов М.Ф. Инфракрасные волоконные световоды из халькогенидных стекол // Квантовая электроника. 1982. Т. 9. №. 2. С. 438–440.
- Shiryaev V.S., Churbanov M.F., Snopatin G.E., Chenard F. Preparation of Low-Loss Core–Clad As–Se Glass Fibers // Opt. Mater. 2015. V. 48 P. 222–225. https://doi.org/10.1016/j.optmat.2015.08.004





